授权公布号:CN214178899U
一种海参和鲍鱼清洗装置
失效
申请
2020-10-23
申请公布
1970-01-01
授权
2021-09-14
预估到期
2030-10-23
| 申请号 | CN202022383627.3 |
| 申请日 | 2020-10-23 |
| 授权公布号 | CN214178899U |
| 授权公告日 | 2021-09-14 |
| 分类号 | A22C29/00;B08B3/02;B08B1/02 |
| 分类 | 屠宰;肉品处理;家禽或鱼的加工; |
| 申请人名称 | 大连壮元海生态苗业股份有限公司 |
| 申请人地址 | 辽宁省大连市长海县大长岛镇杨家村一队 |
专利法律状态
2023-11-03
专利权的终止
状态信息
未缴年费专利权终止;IPC(主分类):A22C 29/00;专利号:ZL2020223836273;申请日:20201023;授权公告日:20210914;终止日期:
2021-09-14
授权
状态信息
授权
摘要
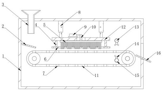
本实用新型公开了一种海参和鲍鱼清洗装置,包括清洗箱主体,所述清洗箱主体的顶端连接有进料管,且清洗箱主体的一侧设置有第二导料板,所述清洗箱主体的内侧设置有传送带,所述清洗箱主体内侧的一边连接有第一导料板,所述清洗箱主体内侧的顶部安装有两个第一电动气缸,两个所述第一电动气缸的底端共同连接有支撑板。本实用新型通过第一电动气缸、第二电动气缸、滑块、滑槽、第二通孔、支撑杆和限位网板,可以方便的将海参(鲍鱼)限位在传送带上,再用清洁软毛刷将海参(鲍鱼)的表面不断移动着将海参(鲍鱼)洗刷干净,避免海参(鲍鱼)在被毛刷洗刷时,位置移动而影响毛刷洗刷,从而提高了该海参(鲍鱼)清洗装置的实用性。


