授权公布号:CN218404066U
一种亚麻籽油生产用滤渣装置
有效
申请
2022-06-28
申请公布
1970-01-01
授权
2023-01-31
预估到期
2032-06-28
| 申请号 | CN202221631623.5 |
| 申请日 | 2022-06-28 |
| 授权公布号 | CN218404066U |
| 授权公告日 | 2023-01-31 |
| 分类号 | C11B3/16;C11B1/00;B08B1/00 |
| 分类 | 动物或植物油、脂、脂肪物质或蜡;由此制取的脂肪酸;洗涤剂;蜡烛; |
| 申请人名称 | 哈尔滨普润油脂有限公司 |
| 申请人地址 | 黑龙江省哈尔滨市利民开发区沈阳大街东、长沙路南办公楼 |
专利法律状态
2023-01-31
授权
状态信息
授权
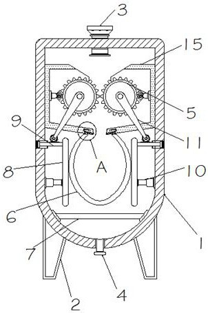
摘要
本实用新型公开了一种亚麻籽油生产用滤渣装置,包括出料管,以及设置在出料管上方的过滤板,还包括:所述过滤箱的上方开槽密封安装有进料管,且过滤箱的下方呈圆弧形状,并且过滤箱的下方开槽密封安装有出料管,所述过滤箱的底部下方设置有过滤板。该亚麻籽油生产用滤渣装置安装有挤压轮、安装框和清理毛刷,利用在过滤箱的内部上方设置有安装框,然后在安装框的左右两侧均轴承安装有挤压轮,并且两个挤压轮的相互啮合,可以很好的将进料管输送的亚麻籽油中未加工完全的亚麻籽原料进行粉碎出油,随后再利用安装框两侧内壁的清理毛刷对两个挤压轮进行清理刮擦,避免亚麻籽残渣粘黏在挤压轮的内侧,更好的方便滤渣装置的使用。


