授权公布号:CN203877842U
一种车辆用多功能电动千斤顶
失效
申请
2014-01-26
申请公布
1970-01-01
授权
2014-10-15
预估到期
2024-01-26
| 申请号 | CN201420050156.6 |
| 申请日 | 2014-01-26 |
| 授权公布号 | CN203877842U |
| 授权公告日 | 2014-10-15 |
| 分类号 | B66F3/42;B66F3/44 |
| 分类 | 卷扬;提升;牵引; |
| 申请人名称 | 温岭鼎尚机电有限公司 |
| 申请人地址 | 浙江省台州市温岭市城西街道九龙大道1031号(一号楼一层) |
专利法律状态
2024-02-13
专利权的终止
状态信息
专利权有效期届满;IPC(主分类):B66F3/42;申请日:20140126;授权公告日:20141015
2021-12-10
专利权质押合同登记的生效、变更及注销
状态信息
专利权质押合同登记的生效;IPC(主分类):B66F3/42;登记号:Y2021330002318;登记生效日:20211123;出质人:温岭鼎尚机电有限公司;质权人:浙江民泰商业银行股份有限公司温岭箬横支行;实用新型名称:一种车辆用多功能电动千斤顶;申请日:20140126;授权公告日:20141015
2020-05-01
专利权人的姓名或者名称、地址的变更
状态信息
专利权人的姓名或者名称、地址的变更;IPC(主分类):B66F3/42;变更事项:专利权人;变更前:温岭鼎尚机电有限公司;变更后:温岭鼎尚机电有限公司;变更事项:地址;变更前:317500 浙江省台州市温岭市城东街道石仓下村(温岭市先导技术研究所内);变更后:317500 浙江省台州市温岭市城西街道九龙大道1031号(一号楼一层)
2014-10-15
授权
状态信息
授权
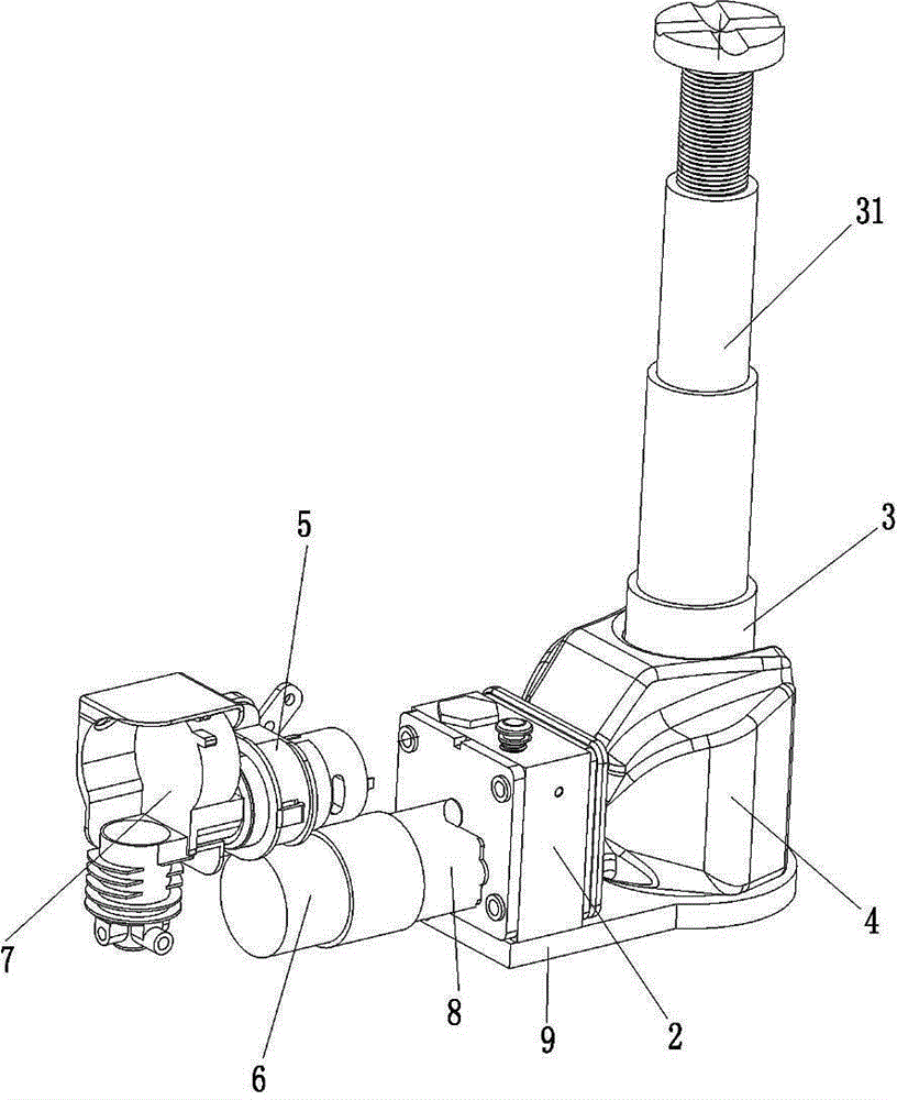
摘要
本实用新型涉及一种车辆用多功能电动千斤顶,它包括壳体、电机、气泵、阀体、油缸和油箱,所述的电机包括气泵电机和千斤顶电机,其中千斤顶电机驱动阀体内的齿轮泵工作,阀体通过底板与油缸连通;所述的千斤顶电机和气泵电机容置于壳体的前部,气泵电机和气泵位于千斤顶电机的上方,油缸和油箱设置在壳体的后部,阀体设置在壳体的中间位置,壳体中间上部设有提手,在壳体前部的左右两侧设置有容置腔,两侧的容置腔内分别设置两台电机的电源线和气泵的充气管,左右两侧容置腔均被腔盖封闭;油箱为异形结构并将油缸下部包围并容置于壳体内,油箱与阀体连通,油缸的顶杆从后部壳体的顶部伸出;本实用新型具有方便、安全、可靠的特点。


