授权公布号:CN218383677U
一种处理盒
有效
申请
2022-09-21
申请公布
1970-01-01
授权
2023-01-24
预估到期
2032-09-21
| 申请号 | CN202222519677.9 |
| 申请日 | 2022-09-21 |
| 授权公布号 | CN218383677U |
| 授权公告日 | 2023-01-24 |
| 分类号 | G03G21/18;G03G15/08 |
| 分类 | 摄影术;电影术;利用了光波以外其他波的类似技术;电记录术;全息摄影术〔4〕; |
| 申请人名称 | 纳思达股份有限公司 |
| 申请人地址 | 广东省珠海市香洲区珠海大道3883号01栋7楼B区 |
专利法律状态
2023-01-24
授权
状态信息
授权
摘要
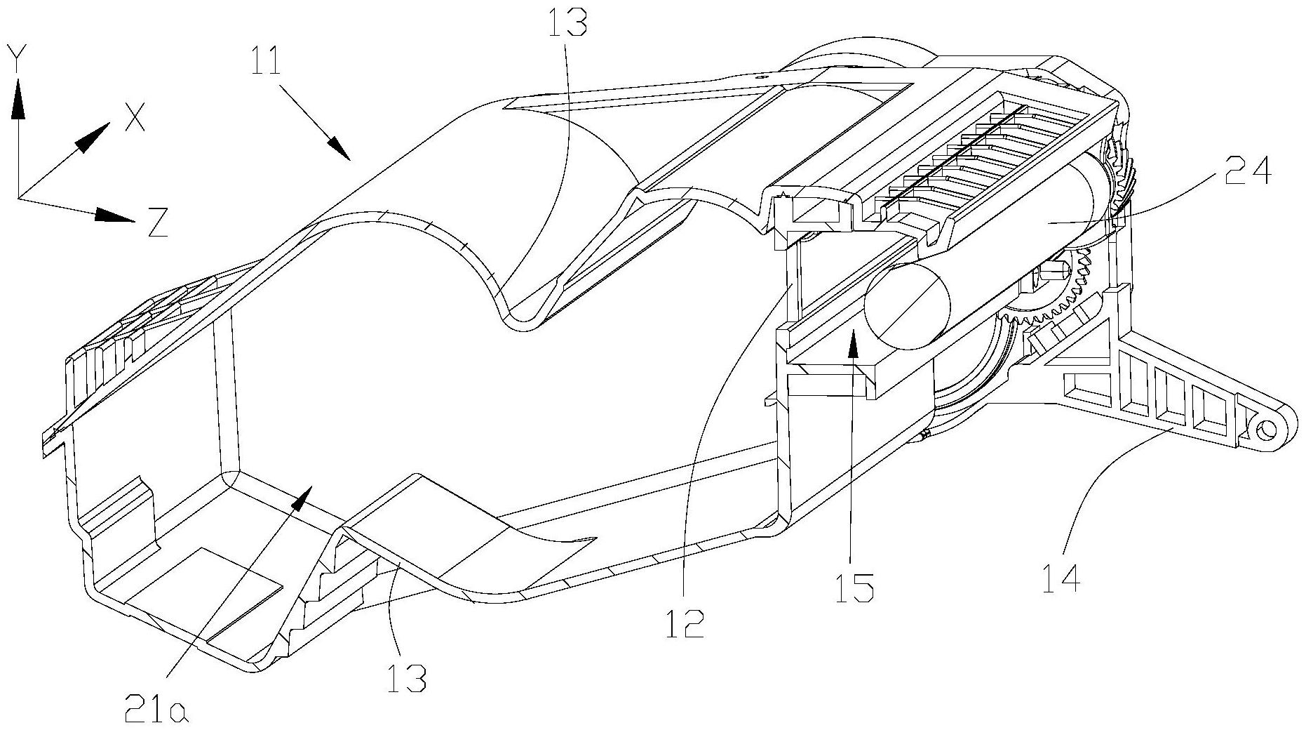
本申请涉及一种处理盒,处理盒可拆卸地安装至成像装置中,该处理盒包括盒体,盒体设置有粉仓框架和显影框架,粉仓框架具有用于容纳显影剂的容纳腔,显影框架设置有显影辊,粉仓框架与显影框架一体成型。在本申请中,粉仓框架与显影框架一体成型,二者之间通过盒体封闭,无需设置密封件,简化了处理盒的结构和生产工艺,无需组装,提高了处理盒的生产效率。


