授权公布号:CN208950477U
用于门框主体包边装饰的门框组合件和组合式门框
有效
申请
2018-04-16
申请公布
1970-01-01
授权
2019-06-07
预估到期
2028-04-16
| 申请号 | CN201820530101.3 |
| 申请日 | 2018-04-16 |
| 授权公布号 | CN208950477U |
| 授权公告日 | 2019-06-07 |
| 分类号 | E06B1/02;E06B1/52;E06B3/26 |
| 分类 | 一般门、窗、百叶窗或卷辊遮帘;梯子; |
| 申请人名称 | 东莞市百妥木新材料科技有限公司 |
| 申请人地址 | 广东省东莞市东坑镇塔岗村东兴东路东兴工业园东莞市百妥木新材料科技有限公司 |
专利法律状态
2019-06-07
授权
状态信息
授权
摘要
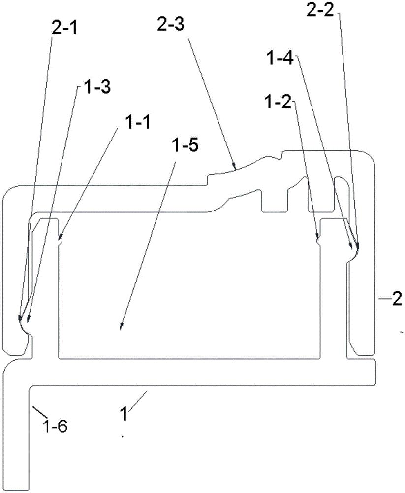
本实用新型涉及一种用于门框主体包边装饰的门框组合件和组合式门框,所述门框组合件包括门框封边板以及门框装饰板,在所述门框封边板和门框装饰板的截面结构中,各自包括沿水平方向延伸的水平延伸部以及沿垂直方向延伸的垂直延伸部,所述门框封边板和所述门框装饰板(2)通过设置在其内壁和/或外壁上的对应的沟槽和凸台结构彼此接合,以形成位于所述门框封边板内部的门框封边板隧道内腔;并且所述门框封边板还包括由所述门框封边板的一个端部延伸的门框封边板连接部,以与门框主体进行连接。根据本实用新型的组合件结构,提升了加工的灵活性,为装饰边板和组合件提供了多样化设计的途径,并且有效地增加了产品的强度。


