授权公布号:CN214885150U
一种高透水性塑木地板
有效
申请
2020-12-30
申请公布
1970-01-01
授权
2021-11-26
预估到期
2030-12-30
| 申请号 | CN202023271010.9 |
| 申请日 | 2020-12-30 |
| 授权公布号 | CN214885150U |
| 授权公告日 | 2021-11-26 |
| 分类号 | E04F15/10 |
| 分类 | 建筑物; |
| 申请人名称 | 浙江美典新材料有限公司 |
| 申请人地址 | 浙江省湖州市吴兴区蜀山路3636号 |
专利法律状态
2021-11-26
授权
状态信息
授权
摘要
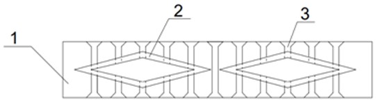
本实用新型涉及塑木业制造领域,具体来说是一种高透水性塑木地板,主要包括长方形板体,板体的上板面与下板面之间设有空腔,所述空腔的横截面为菱形所述,板体设有若干通孔贯穿于板体与空腔,所述通孔为圆形通孔,本实用新型与传统技术相比,可以使雨水或生活用水迅速渗入地下,保持土壤湿度,防止路面积水。


