授权公布号:CN218176491U
一种空心塑木地板
有效
申请
2022-07-18
申请公布
1970-01-01
授权
2022-12-30
预估到期
2032-07-18
| 申请号 | CN202221836139.6 |
| 申请日 | 2022-07-18 |
| 授权公布号 | CN218176491U |
| 授权公告日 | 2022-12-30 |
| 分类号 | E04F15/02;E04F15/10 |
| 分类 | 建筑物; |
| 申请人名称 | 宜兴市华龙塑木新材料有限公司 |
| 申请人地址 | 江苏省无锡市宜兴市新建镇工业集中区 |
专利法律状态
2022-12-30
授权
状态信息
授权
摘要
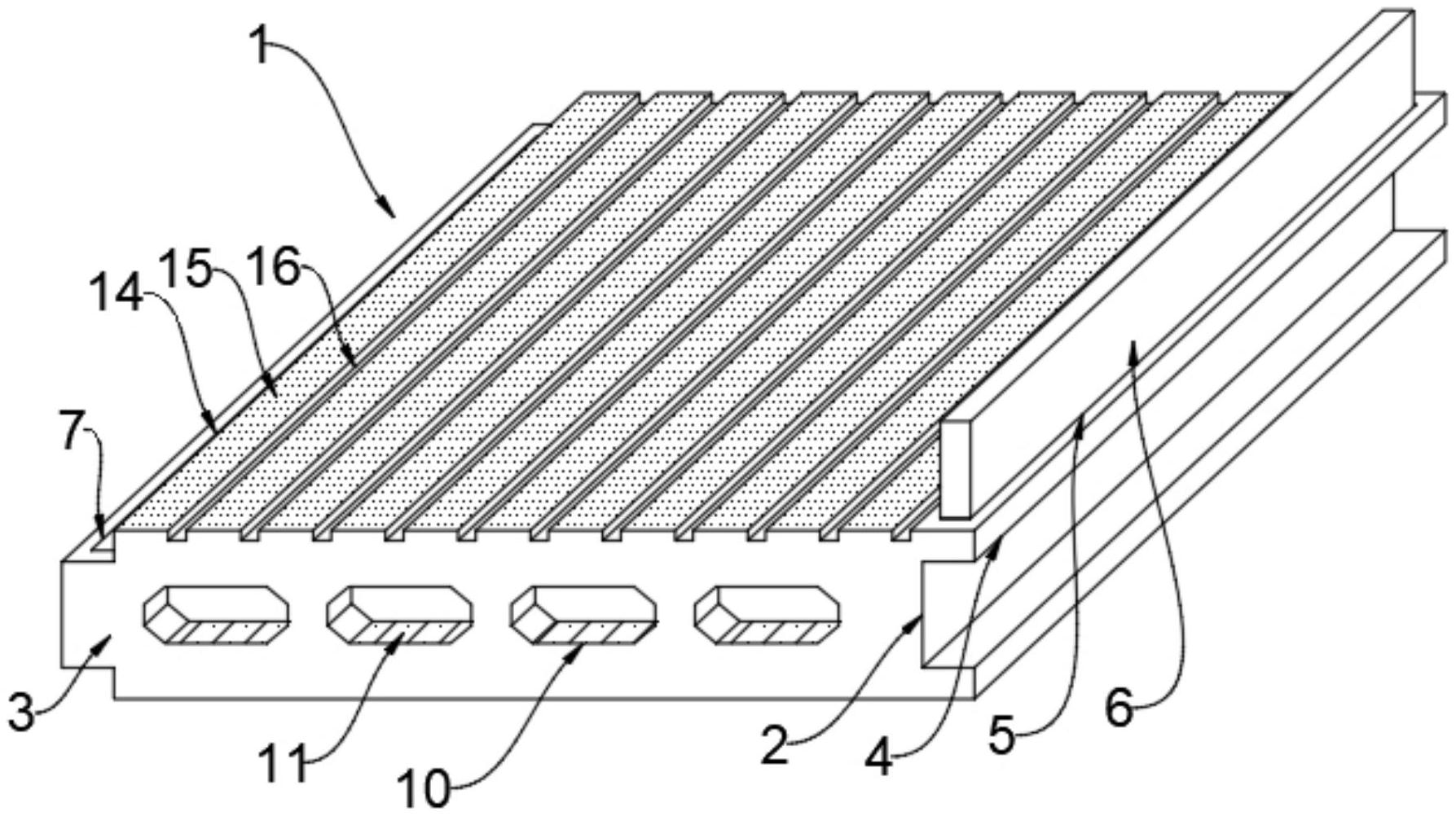
本实用新型公开了一种空心塑木地板,涉及空心塑木地板技术领域,为解决现有空心塑木地板组合安装起来较为复杂,板体之间的组合处容易脱落分离,从而影响板体组合效果的问题。所述侧组合安装凹槽,其安装在所述空心塑木地板本体的一侧,且其与所述空心塑木地板本体为一体式结构,所述侧组合安装凹槽的上下两端均设置有凹槽限位板,上端所述凹槽限位板上表面的外壁设置有限位板连通槽,所述限位板连通槽的内部设置有插接卡合板;侧组合安装凸块,其安装在所述空心塑木地板本体的另一侧,且其与所述空心塑木地板本体为一体式结构,所述侧组合安装凹槽的上下两端均设置有凹槽限位板,上端所述凹槽限位板上表面的外壁设置有限位板连通槽。


