授权公布号:CN218437985U
一种用于塑木地板拼接的拼接附件
有效
申请
2022-08-17
申请公布
1970-01-01
授权
2023-02-03
预估到期
2032-08-17
| 申请号 | CN202222160863.8 |
| 申请日 | 2022-08-17 |
| 授权公布号 | CN218437985U |
| 授权公告日 | 2023-02-03 |
| 分类号 | E04F15/02;E04F15/10 |
| 分类 | 建筑物; |
| 申请人名称 | 宜兴市华龙塑木新材料有限公司 |
| 申请人地址 | 江苏省无锡市宜兴市新建镇工业集中区 |
专利法律状态
2023-02-03
授权
状态信息
授权
摘要
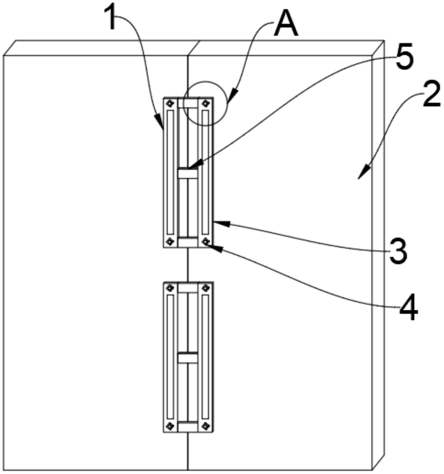
本实用新型公开了一种用于塑木地板拼接的拼接附件,涉及塑木地板技术领域,为解决现有于塑木地板拼接用附件一般不具备定位结构,导致在拼接过程中容易发生位移偏移,从而导致塑木地板报废的问题。所述塑木地板本体,其安装在所述拼接附件本体的后端,且其安装有左右两个;附件安装框架,其安装在所述拼接附件本体的两侧,且其与所述拼接附件本体固定连接,所述附件安装框架外壁的四个角处均设置有框架固定机构;中部定位件,其安装在所述附件安装框架之间,且所述中部定位件安装有多个,所述中部定位件的中间位置处设置有定位安装块,所述定位安装块的后端设置有下安装槽。


