授权公布号:CN208870866U
一种单体液压支柱顶盖铰链销的连接结构
有效
申请
2018-09-19
申请公布
1970-01-01
授权
2019-05-17
预估到期
2028-09-19
| 申请号 | CN201821531889.6 |
| 申请日 | 2018-09-19 |
| 授权公布号 | CN208870866U |
| 授权公告日 | 2019-05-17 |
| 分类号 | F15B15/20;F16J10/02;E21D15/51 |
| 分类 | 流体压力执行机构;一般液压技术和气动技术; |
| 申请人名称 | 浙江衢州煤矿机械总厂股份有限公司 |
| 申请人地址 | 浙江省衢州市东港工业园区内 |
专利法律状态
2019-05-17
授权
状态信息
授权
摘要
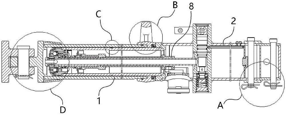
本实用新型公开了一种单体液压支柱顶盖铰链销的连接结构,涉及单体液压支柱技术领域。本实用新型包括缸体,缸体内表面活动连接有活柱体,缸体内部固定连接有一柱塞,活柱体一端面活动连接有一柱顶接头体,活柱体一端周侧面与柱顶接头体周侧面均开设有两个插销孔,两个插销孔内表面分别活动连接有第一铰链销和第二铰链销,第一铰链销一端周侧面插接有第一β销,第二铰链销一端周侧面插接有第二β销,本实用新型通过活柱体与柱顶接头体之间插入铰链销代替现有弹性圆柱销进行连接,使得支柱与柱顶接头体之间可以稳定连接,安全可靠性增强,铰链销连接结构简单,成本低廉,重复使用率高,具有良好的经济效益。


