授权公布号:CN217854192U
脱毛仪
有效
申请
2022-03-30
申请公布
1970-01-01
授权
2022-11-22
预估到期
2032-03-30
| 申请号 | CN202220722987.8 |
| 申请日 | 2022-03-30 |
| 授权公布号 | CN217854192U |
| 授权公告日 | 2022-11-22 |
| 分类号 | A61N5/067;F25B21/02 |
| 分类 | 医学或兽医学;卫生学; |
| 申请人名称 | 深圳市思肯三维科技发展有限公司 |
| 申请人地址 | 广东省深圳市宝安区松岗街道东方大道33号旁边东方大田洋工业区第4栋厂房 |
专利法律状态
2022-11-22
授权
状态信息
授权
摘要
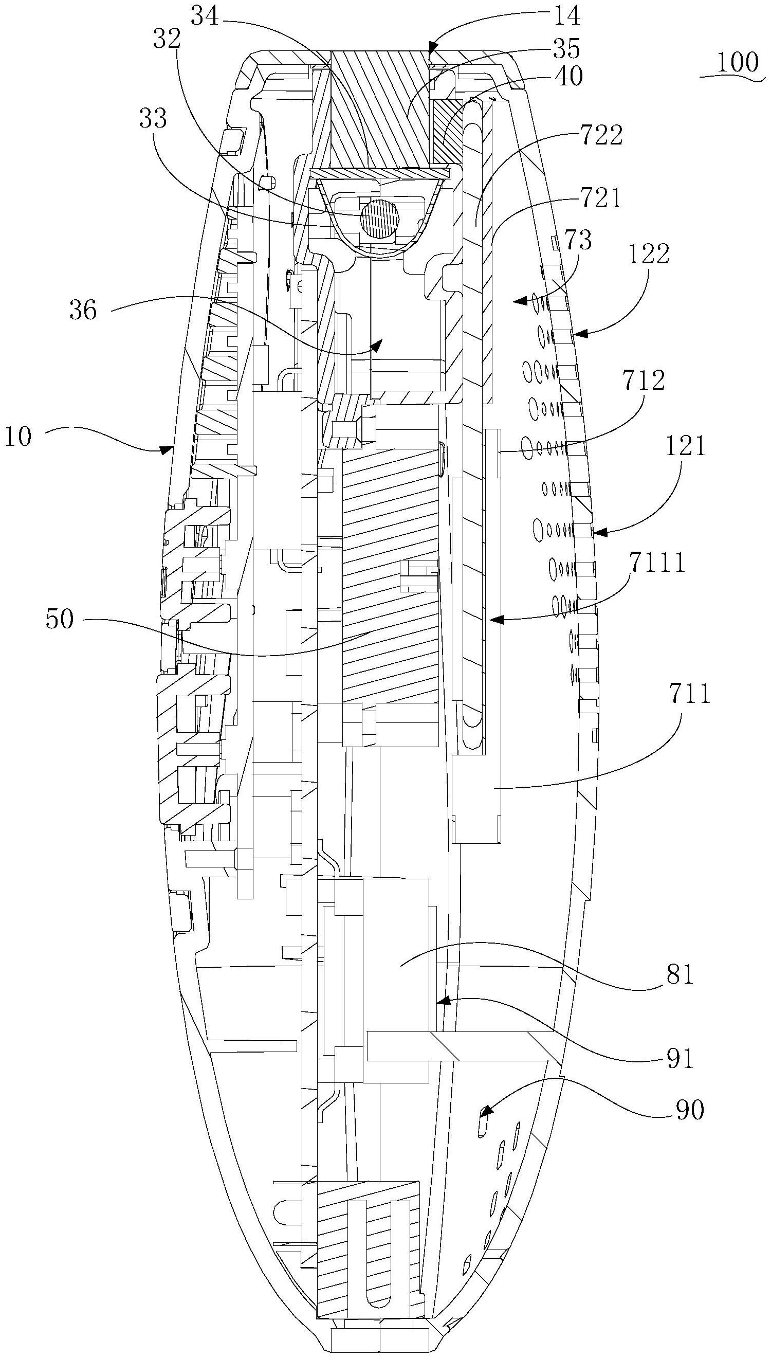
本实用新型提供一种脱毛仪,包括主体,内部具备腔室,且设有连通腔室的进气窗口和出气窗口;脱毛组件,构建于腔室,被配置为用于去除外界毛发,脱毛组件内部设有与出气窗口连通的散热通道;气流推动组件,构建于腔室,且其入风端与进气窗口连通,出风端与散热通道连通,被配置为将外界气流通过进气窗口吸入并朝向散热通道排出;散热组件,包括构建于入风端外侧的第一部分和延伸至与脱毛组件外壳接触的第二部分,进气窗口包括与对应第一部分的第一进气区域和对应第二部分的第二进气区域,第一部分设有第一过气通道,第二部分设有第二过气通道。本申请旨在便于对脱毛组件进行散热。


