授权公布号:CN217854201U
超声治疗头和超声治疗仪器
有效
申请
2022-04-29
申请公布
1970-01-01
授权
2022-11-22
预估到期
2032-04-29
| 申请号 | CN202221047294.X |
| 申请日 | 2022-04-29 |
| 授权公布号 | CN217854201U |
| 授权公告日 | 2022-11-22 |
| 分类号 | A61N7/02 |
| 分类 | 医学或兽医学;卫生学; |
| 申请人名称 | 深圳市思肯三维科技发展有限公司 |
| 申请人地址 | 广东省深圳市宝安区松岗街道东方大道33号旁边东方大田洋工业区第4栋厂房 |
专利法律状态
2022-11-22
授权
状态信息
授权
摘要
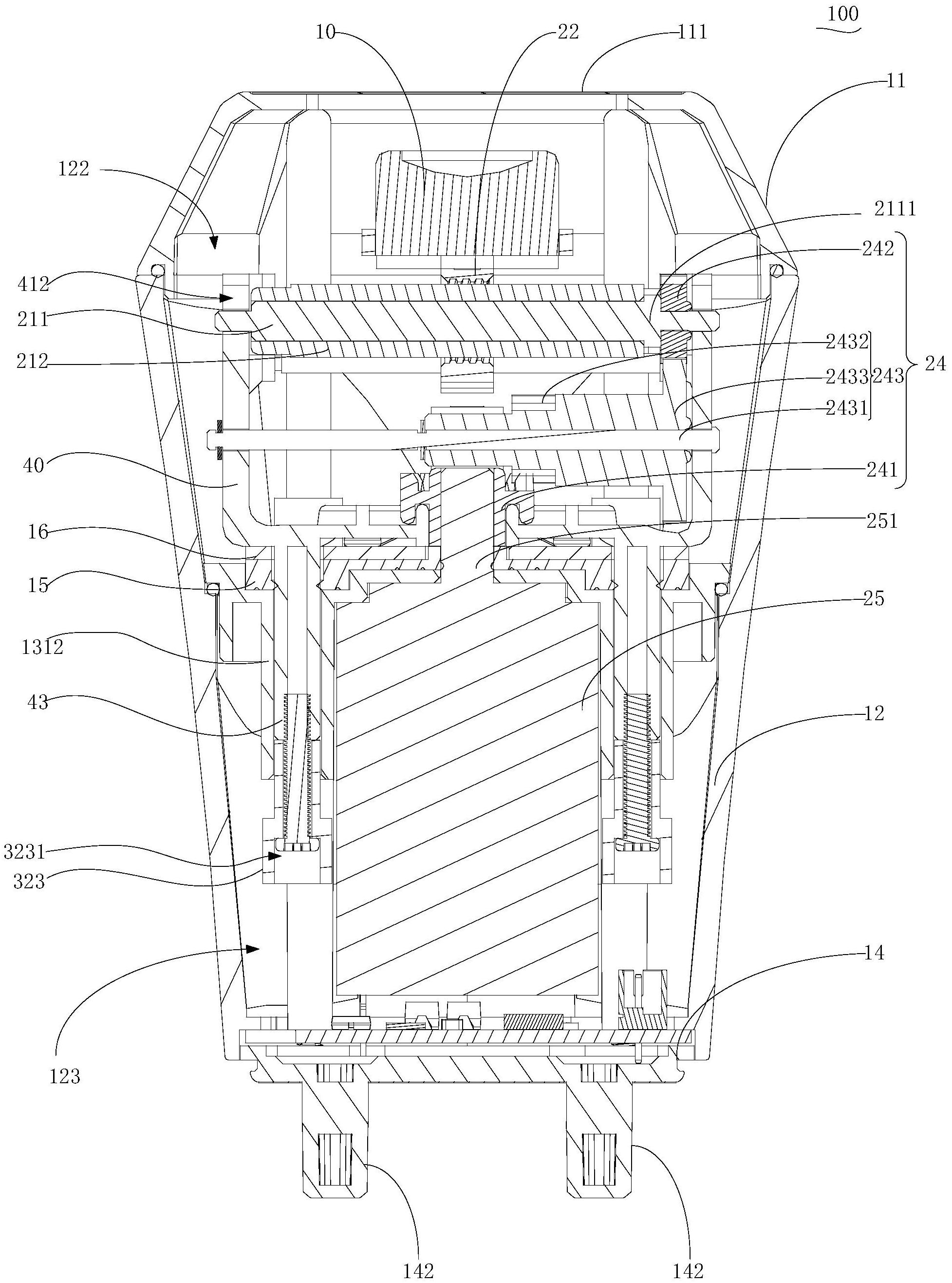
本实用新型提供一种超声治疗头和超声治疗仪器。所述超声治疗头的一端设有超声区,且超声治疗头内部构建有超声器件及推送机构,所述超声器件被驱动下可发射超声波从所述超声区射出,所述推送机构驱动所述超声器件朝向或远离所述超声区移动。本实用新型技术方案旨在通过调整超声治疗头内部超声器件与超声区之间的位置,从而调整从超声区发射出的超声波强度,无需调整功耗,成本较低。


