授权公布号:CN206876421U
一种土壤深层取样装置
有效
申请
2017-06-28
申请公布
1970-01-01
授权
2018-01-12
预估到期
2027-06-28
| 申请号 | CN201720761712.4 |
| 申请日 | 2017-06-28 |
| 授权公布号 | CN206876421U |
| 授权公告日 | 2018-01-12 |
| 分类号 | G01N1/08 |
| 分类 | 测量;测试; |
| 申请人名称 | 浙江东海岸园艺有限公司 |
| 申请人地址 | 浙江省嘉兴市海宁市盐官镇世纪路11号 |
专利法律状态
2018-01-12
授权
状态信息
授权
摘要
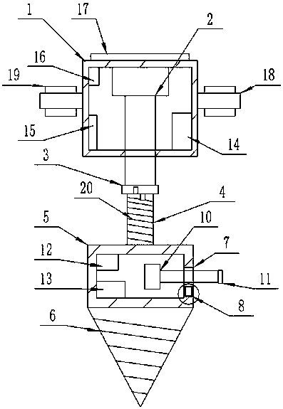
本实用新型公开了一种土壤深层取样装置,包括圆柱形盒体,所述圆柱形盒体内上表面设有旋转端向下的旋转电机,所述旋转电机旋转端上设有连接块,所述连接块下表面上设有辅助杆,所述辅助杆下表面上设有取样块,所述取样块下表面设有钻头,所述连接块与辅助杆、辅助杆与取样块和取样块与钻头均采取卡扣式固定连接,所述取样块内设有无线接收模块和微型电池,所述圆柱形盒体内设有蓄电池、控制器和无线发送模块,所述圆柱形盒体上表面上设有电容触摸屏,所述蓄电池分别与控制器、无线发送模块、无线接收模块、电容触摸屏、旋转电机、微型电池、旋转档门和直线电机电性连接。本实用新型的有益效果是,结构简单,实用性强。


