授权公布号:CN214974558U
一种富集植物油中天然营养因子的制备系统
有效
申请
2021-04-26
申请公布
1970-01-01
授权
2021-12-03
预估到期
2031-04-26
| 申请号 | CN202120870402.2 |
| 申请日 | 2021-04-26 |
| 授权公布号 | CN214974558U |
| 授权公告日 | 2021-12-03 |
| 分类号 | B02C18/12;B30B9/06;B30B9/26 |
| 分类 | 破碎、磨粉或粉碎;谷物碾磨的预处理; |
| 申请人名称 | 云南金丰汇油脂股份有限公司 |
| 申请人地址 | 云南省昆明市经开区昆明中豪新册产业城B9、B10栋 |
专利法律状态
2023-09-01
专利权质押合同登记的生效、变更及注销
状态信息
专利权质押合同登记的生效;IPC(主分类):B02C 18/12;专利号:ZL2021208704022;登记号:Y2023530000054;登记生效日:20230814;出质人:云南金丰汇油脂股份有限公司;质权人:中国邮政储蓄银行股份有限公司昆明市分行;实用新型名称:一种富集植物油中天然营养因子的制备系统;申请日:20210426;授权公告日:20211203
2021-12-03
授权
状态信息
授权
摘要
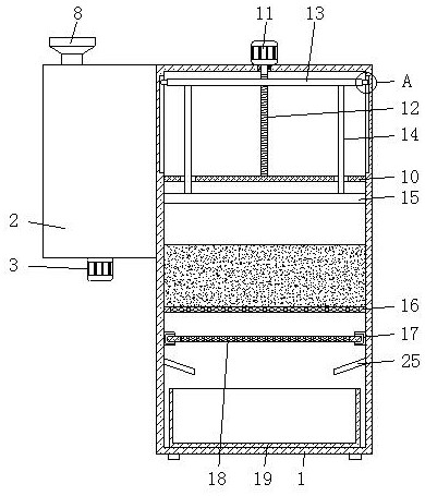
本实用新型公开了一种富集植物油中天然营养因子的制备系统,包括箱体,所述箱体左侧的顶部固定连接有粉碎箱,所述粉碎箱的底部固定连接有第一电机,所述粉碎箱的内腔固定连接有导向板,所述第一电机的转轴贯穿至粉碎箱的内腔并固定连接有转杆,所述转杆的顶端贯穿导向板并与粉碎箱的内壁活动连接。本实用新型具备压榨效果好及具有粉碎功能的优点,解决了现有的富集植物油中天然营养因子的制备系统,在使用过程中,无法对植物原料进行有效的压榨和过滤,导致植物中仍然含有大量水液,容易造成资源浪费,且由于结构单一,不具有粉碎功能,不能对植物原料进行粉碎处理,从而影响后续的压榨效果,降低了制备系统适用性的问题。


