授权公布号:CN207263430U
闭门器寿命测试装置
有效
申请
2017-09-06
申请公布
1970-01-01
授权
2018-04-20
预估到期
2027-09-06
| 申请号 | CN201721138134.5 |
| 申请日 | 2017-09-06 |
| 授权公布号 | CN207263430U |
| 授权公告日 | 2018-04-20 |
| 分类号 | G01M13/00 |
| 分类 | 测量;测试; |
| 申请人名称 | 丽水市神飞利益保安用品有限公司 |
| 申请人地址 | 浙江省丽水市青田县青田经济开发区利益工业区 |
专利法律状态
2018-04-20
授权
状态信息
授权
摘要
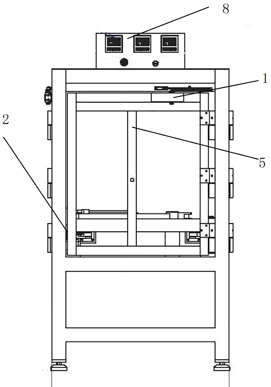
本实用新型公开了闭门器寿命测试装置,包括台架、闭门器,还包括模拟门框、模拟开门机构;模拟门框,其可转动的设于上述台架的立柱上,上述模拟门框顶部通过闭门器与上述台架相连;模拟开门机构,其包括气缸和气缸推杆,上述气缸推杆与转动臂一端铰接,上述转动臂的另一端设有与模拟门框内侧接触的滚动件,上述转动臂可转动的设于台架内的转动芯轴上。本实用新型通过全自动设置,能够一次性测试四块不同重量的模拟门,整个过程全自动运行,工人劳动强度小、测试工作效率极高,同时不易对模拟门造成损坏。


