授权公布号:CN203394232U
闭门器
失效
申请
2013-08-08
申请公布
1970-01-01
授权
2014-01-15
预估到期
2023-08-08
| 申请号 | CN201320483501.0 |
| 申请日 | 2013-08-08 |
| 授权公布号 | CN203394232U |
| 授权公告日 | 2014-01-15 |
| 分类号 | E05F3/04 |
| 分类 | 锁;钥匙;门窗零件;保险箱; |
| 申请人名称 | 丽水市神飞利益保安用品有限公司 |
| 申请人地址 | 浙江省丽水市青田县青田经济开发区利益工业区 |
专利法律状态
2023-08-25
专利权的终止
状态信息
专利权有效期届满;IPC(主分类):E05F3/04;专利号:ZL2013204835010;申请日:20130808;授权公告日:20140115;终止日期:
2014-01-15
授权
状态信息
授权
摘要
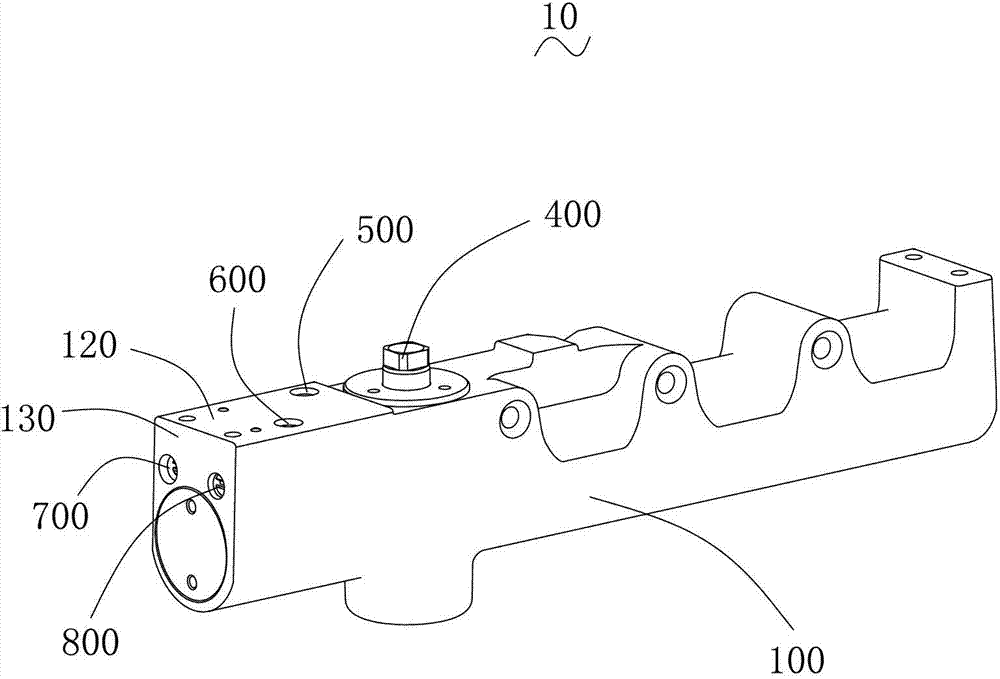
一种闭门器,包括壳体、弹性件、滑块、凸轮盘、活塞、凸轮轴、内嵌调速阀、内嵌闭锁阀、外装调速阀及外装闭锁阀。壳体上具有相邻并垂直的第一平面和第二平面,其腔体内填充有液压油;弹性件、滑块、凸轮盘及活塞依次连接并收容于腔体内,活塞将腔体分隔成第一腔室和第二腔室;凸轮轴穿过第一平面并旋转地安装在壳体上并与凸轮盘啮合;内嵌调速阀和内嵌闭锁阀的调节端位于第一平面,外装调速阀和外装闭锁阀的调节端位于第二平面,内嵌调速阀和外装调速阀连通形成第一流体通道,内嵌闭锁阀和外装闭锁阀连通形成第二流体通道。闭门器同时适用于外装式和内嵌式两种安装方式,此种结构的闭门器扩大了其使用范围,给用户使用带来了方便。


