授权公布号:CN218421463U
一种草本植物提纯装置
有效
申请
2022-09-21
申请公布
1970-01-01
授权
2023-02-03
预估到期
2032-09-21
| 申请号 | CN202222497206.2 |
| 申请日 | 2022-09-21 |
| 授权公布号 | CN218421463U |
| 授权公告日 | 2023-02-03 |
| 分类号 | B01D33/46;B01D33/72;B01D33/80;B01D33/11 |
| 分类 | 一般的物理或化学的方法或装置; |
| 申请人名称 | 龙岩嘉麒生物科技有限公司 |
| 申请人地址 | 福建省龙岩市新罗区西陂街道福建龙州工业园园八路9号 |
专利法律状态
2023-02-03
授权
状态信息
授权
摘要
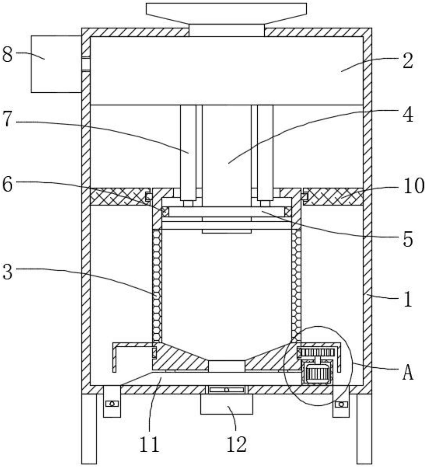
本实用新型公开了一种草本植物提纯装置,属于提纯装置技术领域,包括壳体,所述壳体内腔的顶部安装有粉碎箱,所述壳体的内腔转动连接有过滤筒,所述粉碎箱的底部连通有出料管,所述出料管的底端贯穿过滤筒并延伸至过滤筒的内腔,所述过滤筒内腔的顶部滑动连接有移动板,所述移动板的外侧连接有环形清理刷;通过移动板、环形清理刷和自动伸缩杆的设置,在过滤后,通过外设控制器启动自动伸缩杆,自动伸缩杆的伸缩端带动移动板移动,移动板带动环形清理刷移动,移动的环形清理刷即可对过滤筒内侧的表面进行清理,防止有粉碎的草本植物嵌入过滤筒内侧的过滤孔中,保证了过滤筒再次过滤时的效率。


