授权公布号:CN214438753U
一种配液浓度在线检测装置
有效
申请
2020-12-28
申请公布
1970-01-01
授权
2021-10-22
预估到期
2030-12-28
| 申请号 | CN202023228455.9 |
| 申请日 | 2020-12-28 |
| 授权公布号 | CN214438753U |
| 授权公告日 | 2021-10-22 |
| 分类号 | B01F15/02;B01F15/04;B01F15/00;B01F3/08;B01L9/06 |
| 分类 | 一般的物理或化学的方法或装置; |
| 申请人名称 | 龙岩嘉麒生物科技有限公司 |
| 申请人地址 | 福建省龙岩市新罗区西陂街道福建龙州工业园园八路9号 |
专利法律状态
2021-10-22
授权
状态信息
授权
摘要
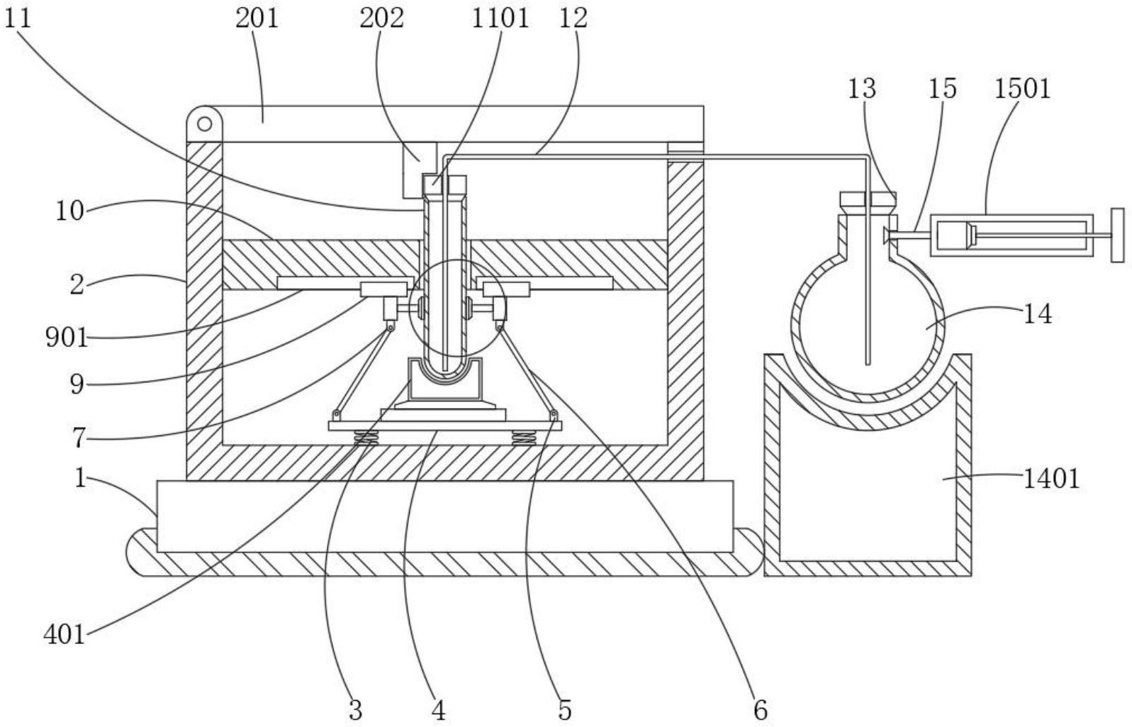
本实用新型属于检测溶液配制领域,尤其是一种配液浓度在线检测装置,针对了密封性差,易对人体造成伤害,同时在使用过程中试管易出现磨损的问题,现提出如下方案,其包括安装基座,安装基座顶端固定有存储盒,存储盒内部底端固定有呈对称分布的复位弹簧,复位弹簧顶端固定有连接板,连接板一侧侧壁固定有呈对称分布的第一转动座,第一转动座一侧侧壁铰接有连杆,连杆远离第一转动座的一侧侧壁铰接有第二转动座,第二转动座,第二转动座远离连杆的一侧侧壁固定有夹持组件;本实用新型中通过此设置达到了对试管的防护效果且减小了磨损程度,更进一步的增强了整体的工作的密封性,对人体安全得到了保障。


