授权公布号:CN217400654U
一种通用型闭门器力量调整装置
有效
申请
2022-02-22
申请公布
1970-01-01
授权
2022-09-09
预估到期
2032-02-22
| 申请号 | CN202220356772.9 |
| 申请日 | 2022-02-22 |
| 授权公布号 | CN217400654U |
| 授权公告日 | 2022-09-09 |
| 分类号 | E05F3/04;E05F3/22 |
| 分类 | 锁;钥匙;门窗零件;保险箱; |
| 申请人名称 | 东莞力督门控设备有限公司 |
| 申请人地址 | 广东省东莞市万江街道帮凹入村路16号1号楼 |
专利法律状态
2022-09-09
授权
状态信息
授权
摘要
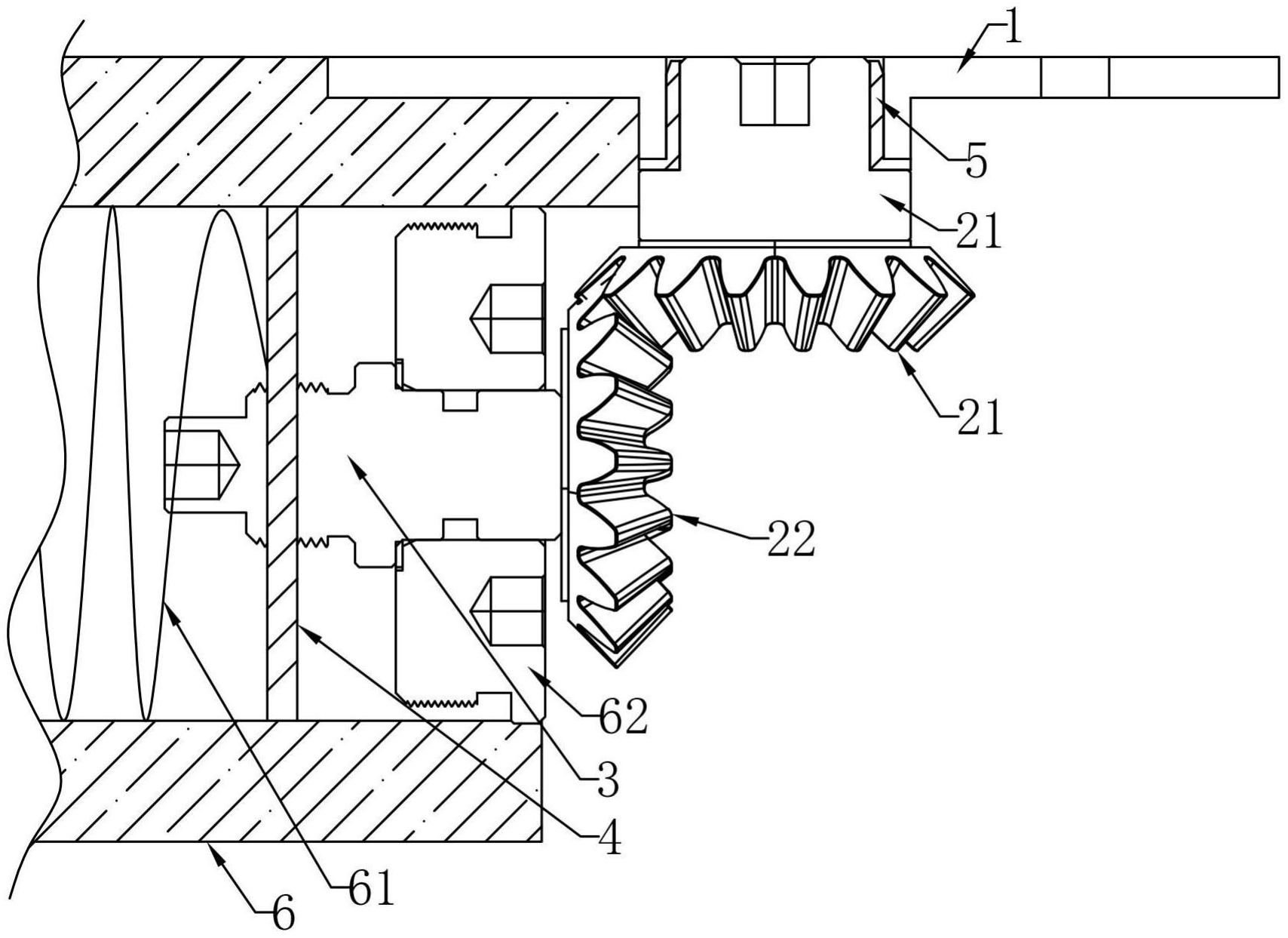
本实用新型提供的一种通用型闭门器力量调整装置,包括固定板和调整组件,所述调整组件包括调整接头、第一调整齿轮和第二调整齿轮,所述第一调整齿轮与调整接头转动连接,所述调整接头固定安装在固定板上,所述第二调整齿轮安装在第一调整齿轮下方,所述第二调整齿轮和第一调整齿轮相啮合,所述第二调整齿轮上固定连接有调整螺丝,所述调整螺丝上设有调整螺母,所述调整螺母与调整螺丝活动连接。本实用新型设置有第一调整齿轮和第二调整齿轮,使用时可根据不同重量的门对第一调整齿轮和第二调整齿轮进行调整,调整闭门器内部弹簧形变产生的弹力,进而实现闭门器内可产生不同的力量,可有效提高闭门器的适用范围,使闭门器具有通用性。


