授权公布号:CN212249645U
360度可旋转油压闭门器
有效
申请
2020-09-01
申请公布
1970-01-01
授权
2020-12-29
预估到期
2030-09-01
| 申请号 | CN202021877219.7 |
| 申请日 | 2020-09-01 |
| 授权公布号 | CN212249645U |
| 授权公告日 | 2020-12-29 |
| 分类号 | E05F3/04 |
| 分类 | 锁;钥匙;门窗零件;保险箱; |
| 申请人名称 | 东莞力督门控设备有限公司 |
| 申请人地址 | 广东省东莞市万江街道帮凹入村路16号1号楼 |
专利法律状态
2020-12-29
授权
状态信息
授权
摘要
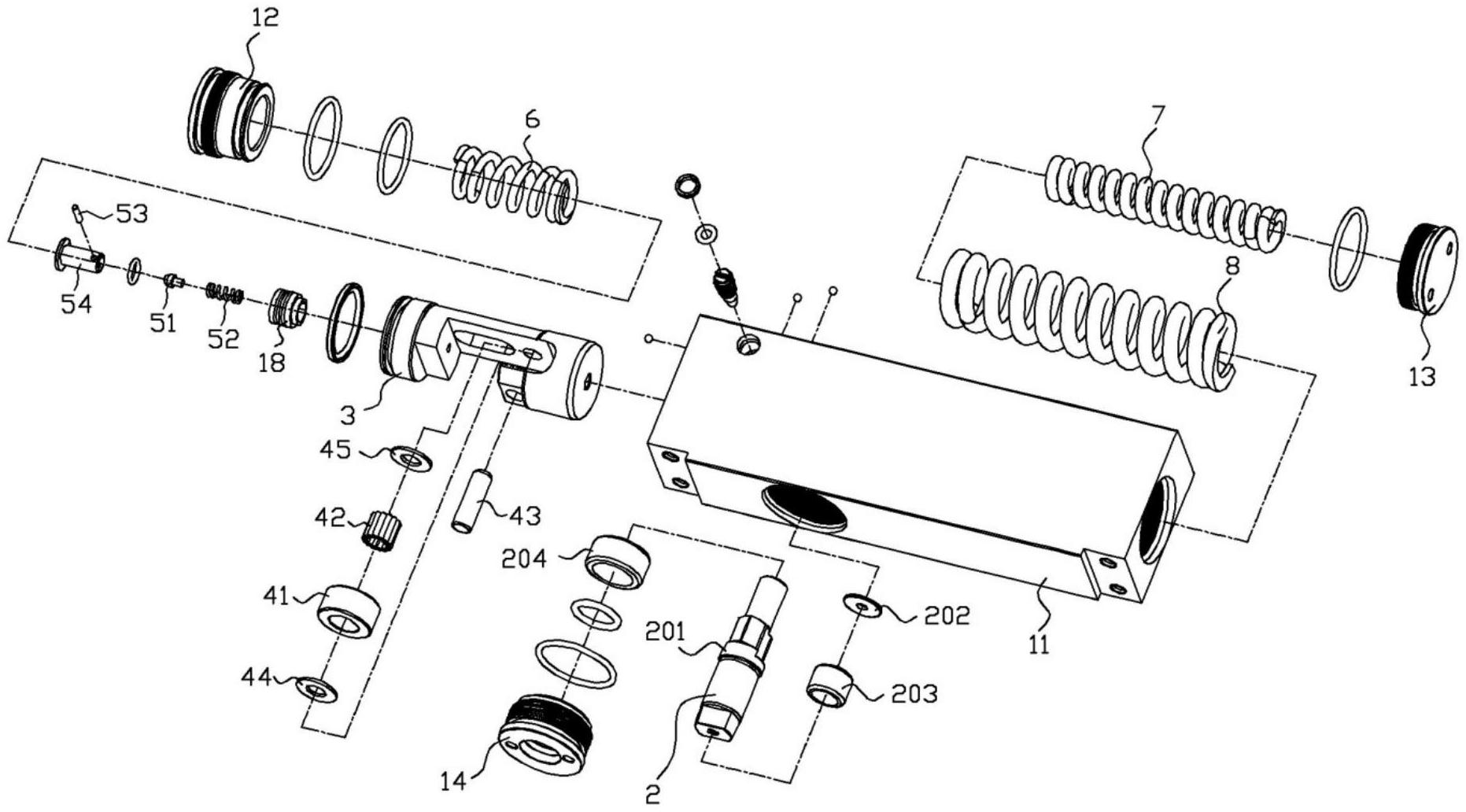
本实用新型公开了一种360度可旋转油压闭门器,包括壳体、传动轴、活塞、滚轮组件和阀门组件,所述传动轴上设有凸轮部,所述滚轮组件抵住凸轮部,所述滚轮组件可转动地安装在活塞上,所述活塞安装于壳体内,并于壳体内隔出第一油道和第二油道,所述活塞内设有和第二油道相连通的第三油道,所述阀门组件用于控制第一油道和第三油道的连通情况。本实用新型能应用于门上,门的门体能安装在壳体上,而第一油道和第二油道内能装有液压油,壳体能随门体的转动而转动,第一油道和第二油道中的液压油的流动能配合门体的动作,以保证门体能持续不断地转动,以实现门体的360度可旋转,提高本实用新型的可适用范围。


