授权公布号:CN210370352U
一种新型门
有效
申请
2019-05-21
申请公布
1970-01-01
授权
2020-04-21
预估到期
2029-05-21
| 申请号 | CN201920730471.6 |
| 申请日 | 2019-05-21 |
| 授权公布号 | CN210370352U |
| 授权公告日 | 2020-04-21 |
| 分类号 | E06B3/36;E05F3/12;E05F5/10 |
| 分类 | 一般门、窗、百叶窗或卷辊遮帘;梯子; |
| 申请人名称 | 东莞力督门控设备有限公司 |
| 申请人地址 | 广东省东莞市万江区新和村 |
专利法律状态
2020-04-21
授权
状态信息
授权
摘要
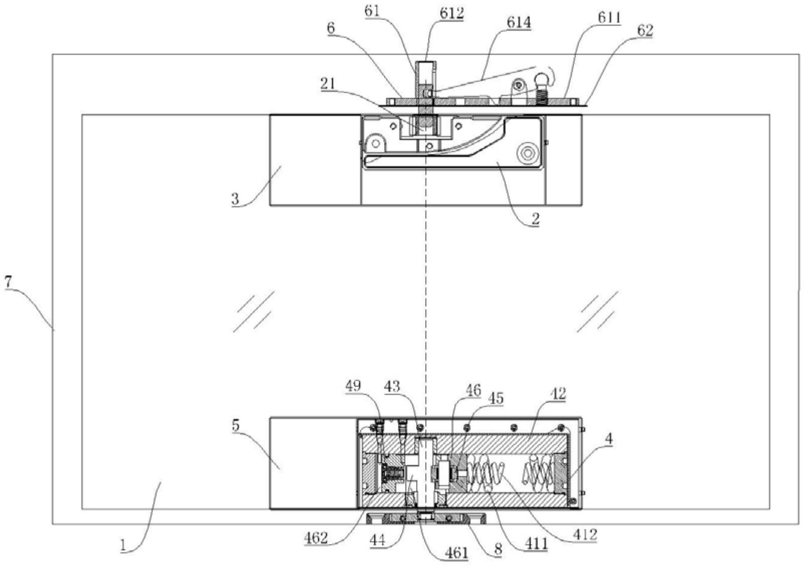
本实用新型公开了一种新型门,包括门板、夹持板、闭门器、辅助转动机构和门框,闭门器安装在门板下端的中心处,闭门器包括第一工作弹簧、第一限位弹簧、壳体、第一转轴、凸轮、顶轮、活动体和阀门,活动体安装在壳体内,第一转轴和顶轮均安装在活动体内,第一限位弹簧的一端与活动体连接,另一端为自由端,第一工作弹簧的一端与活动体连接,另一端为自由端,第一工作弹簧的长度长于第一限位弹簧的长度,活动体内设有主油腔,凸轮安装在第一转轴上,并位于主油腔内,壳体内设有副油腔,阀门安装在主油腔和副油腔之间,夹持板安装在门板上端的中心处,夹持板设有转动孔,转动孔与第一转轴位于同一直线上,辅助转动机构嵌装在门框内并与门板相连接。


