授权公布号:CN208152870U
可替换式玻璃门长夹
有效
申请
2018-04-26
申请公布
1970-01-01
授权
2018-11-27
预估到期
2028-04-26
| 申请号 | CN201820609052.2 |
| 申请日 | 2018-04-26 |
| 授权公布号 | CN208152870U |
| 授权公告日 | 2018-11-27 |
| 分类号 | E06B3/88 |
| 分类 | 一般门、窗、百叶窗或卷辊遮帘;梯子; |
| 申请人名称 | 东莞力督门控设备有限公司 |
| 申请人地址 | 广东省东莞市万江区新和村 |
专利法律状态
2018-11-27
授权
状态信息
授权
摘要
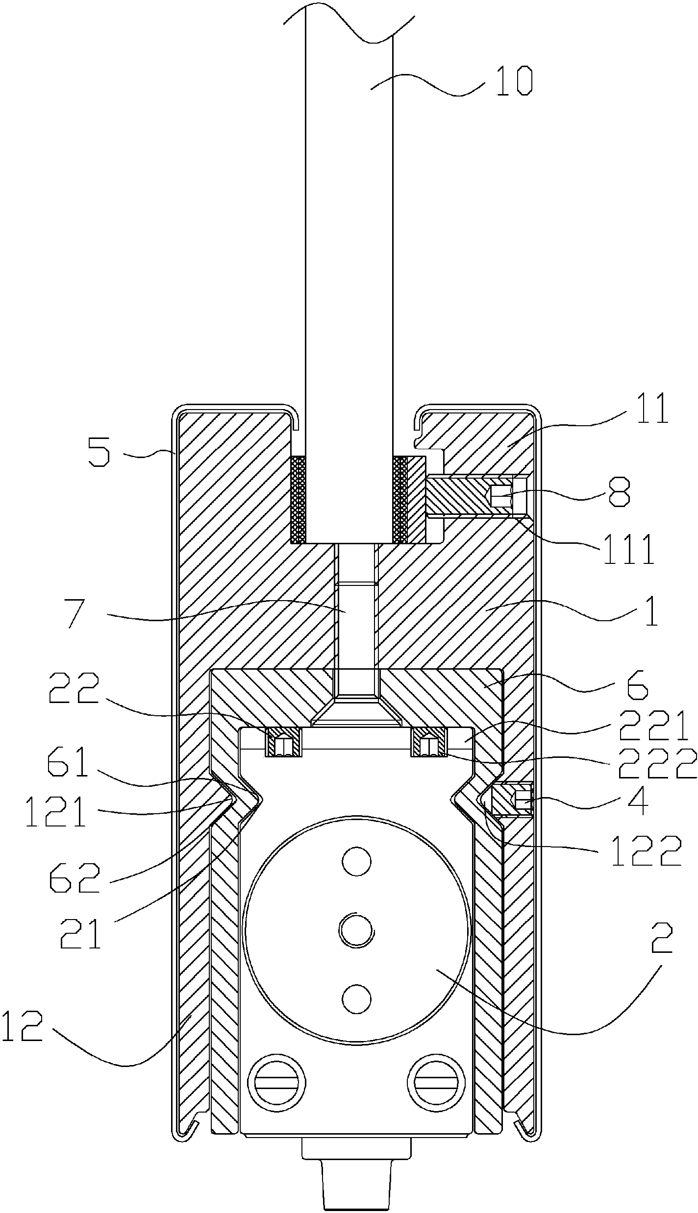
本实用新型公开了一种可替换式玻璃门长夹,包括夹体、自动归位机构、地门锁和固定座,所述夹体包括上夹口和下夹口,所述上夹口用于放置玻璃门,所述固定座可拆卸地嵌装于下夹口中,所述自动归位机构可拆卸地安装于固定座内,所述固定座与自动归位机构相匹配,所述地门锁与下夹口的一端固定连接,所述固定座设有定位槽,所述下夹口设有定位凸起,所述定位槽与定位凸起相匹配。用户可以通过更换固定座来适配不同尺寸的自动归位机构,以此使得不同尺寸的自动归位机构能适用于同一个夹体上,即无需将夹体和自动归位机构进行匹配,可以避免对夹体的修改,成本较低,实用性强。


