授权公布号:CN203488047U
玻璃门上夹
失效
申请
2013-10-12
申请公布
1970-01-01
授权
2014-03-19
预估到期
2023-10-12
| 申请号 | CN201320630506.1 |
| 申请日 | 2013-10-12 |
| 授权公布号 | CN203488047U |
| 授权公告日 | 2014-03-19 |
| 分类号 | E06B7/08 |
| 分类 | 一般门、窗、百叶窗或卷辊遮帘;梯子; |
| 申请人名称 | 东莞力督门控设备有限公司 |
| 申请人地址 | 广东省东莞市万江区新和村 |
专利法律状态
2023-10-31
专利权的终止
状态信息
专利权有效期届满;IPC(主分类):E06B7/08;专利号:ZL2013206305061;申请日:20131012;授权公告日:20140319;终止日期:
2014-03-19
授权
状态信息
授权
摘要
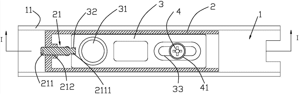
本实用新型公开了一种玻璃门上夹,包括夹体、设于夹体中的固定架和与固定架活动连接的活动架,其中夹体包括上夹口和下夹口,该下夹口用于夹持玻璃门,固定架设于上夹口中,固定架上设有调节结构,该调节结构与活动架相连,活动架上设有门轴器。本实用新型玻璃门上夹具有结构简单、组装方便并且调节方便的特点。


