授权公布号:CN207078956U
一种升降机
有效
申请
2017-07-20
申请公布
1970-01-01
授权
2018-03-09
预估到期
2027-07-20
| 申请号 | CN201720881839.X |
| 申请日 | 2017-07-20 |
| 授权公布号 | CN207078956U |
| 授权公告日 | 2018-03-09 |
| 分类号 | B66F7/14;B66F7/28;A47C31/00 |
| 分类 | 卷扬;提升;牵引; |
| 申请人名称 | 苏州盛唐和室榻榻米有限公司 |
| 申请人地址 | 江苏省苏州市相城区渭塘镇凤阳路555号 |
专利法律状态
2018-03-09
授权
状态信息
授权
摘要
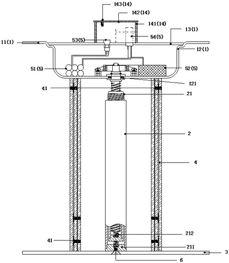
本实用新型公开了一种升降机,承台为陷入式结构,中间设有凹槽式的隐藏段,四周则为悬设的支撑段,隐藏段上方设有盖体,而盖体的中部上侧设有控制区,隐藏段中间位置向下连着升降组件,而四周向下连接着将升降组件囊括在内的铝合金柱,升降组件和铝合金柱均固定在基座板上。本实用新型采用12V锂电池储电,取代传统的220V外接电源,提高升降装置的安全性能,外侧的铝合金柱与内侧的梯纹螺杆共同承担升降,稳定性高,并且尼龙滑块也可提升升降的稳定性,同时还能降低升降的噪音,放大的支撑面也能够提高升降机对桌面的支撑效果。


