授权公布号:CN219271981U
一种手动破拆工具
有效
申请
2023-01-10
申请公布
1970-01-01
授权
2023-06-30
预估到期
2033-01-10
| 申请号 | CN202320079613.3 |
| 申请日 | 2023-01-10 |
| 授权公布号 | CN219271981U |
| 授权公告日 | 2023-06-30 |
| 分类号 | A62B3/00 |
| 分类 | 救生;消防; |
| 申请人名称 | 奥来救援科技有限公司 |
| 申请人地址 | 山东省德州市德城区崇德五大道奥来应急产业园 |
专利法律状态
2023-06-30
授权
状态信息
授权
摘要
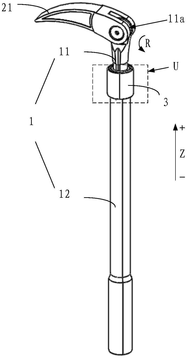
本申请公开了一种手动破拆工具,所述工具包括手柄组件和撬头,所述手柄组件包含内杆和套设于所述内杆外围的外管;其中,在所述内杆的轴向方向上,所述内杆包含第一端,所述外管可沿所述内杆的轴向方向靠近或远离所述第一端;撬头与所述第一端枢接,所述撬头可绕所述第一端旋转以靠近或远离所述内杆。本设计可以实现手动破拆工具伸缩和折叠功能,以便于携带和存放。


