授权公布号:CN218971397U
水陆两用液压电动泵
有效
申请
2022-09-06
申请公布
1970-01-01
授权
2023-05-05
预估到期
2032-09-06
| 申请号 | CN202222394818.9 |
| 申请日 | 2022-09-06 |
| 授权公布号 | CN218971397U |
| 授权公告日 | 2023-05-05 |
| 分类号 | F04B49/10;G01D21/02 |
| 分类 | 液体变容式机械;液体泵或弹性流体泵; |
| 申请人名称 | 奥来救援科技有限公司 |
| 申请人地址 | 山东省德州市德城区崇德五大道奥来应急产业园 |
专利法律状态
2023-05-05
授权
状态信息
授权
摘要
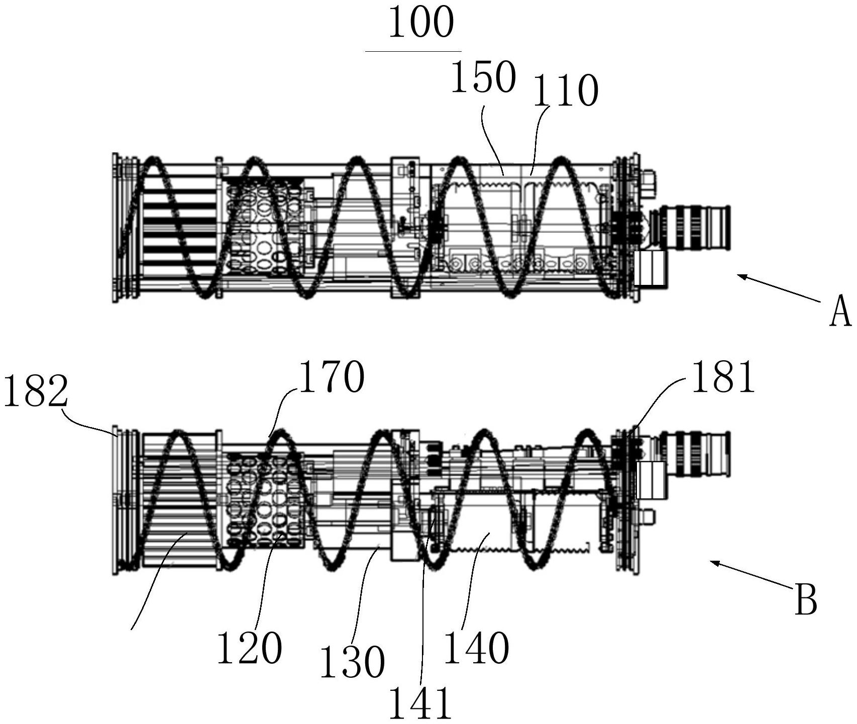
本申请公开了一种水陆两用液压电动泵,该装置设置有温度传感器和显示装置。驱动装置设置在骨架上;泵体一端连接驱动装置另一端连接工具接头;油囊连接泵体,驱动装置驱动泵体从油囊抽油后,通过工具接头传输给指定设备;温度传感器设置在骨架上,以监测水陆两用液压电动泵工作温度;电源组件连接驱动装置和温度传感器,以给驱动装置和温度传感器提供工作电流;显示装置连接电源组件及温度传感器,显示装置用于显示电源组件的电量及温度传感器监测的工作温度;壳体形成有密封腔,骨架设置于密封腔内,工具接头和显示装置设置在壳体上。通过上述结构,本申请的水陆两用液压电动泵具有温度监测和电量显示功能,以便救援人员能及时处理异常情况。


