授权公布号:CN214103335U
一种具有可调节功能的防护口罩
有效
申请
2020-12-02
申请公布
1970-01-01
授权
2021-09-03
预估到期
2030-12-02
| 申请号 | CN202022875679.2 |
| 申请日 | 2020-12-02 |
| 授权公布号 | CN214103335U |
| 授权公告日 | 2021-09-03 |
| 分类号 | A41D13/11;A41D27/00 |
| 分类 | 服装; |
| 申请人名称 | 四川恒明科技开发有限公司 |
| 申请人地址 | 四川省成都市彭州工业开发区天彭镇旌旗西路39号 |
专利法律状态
2021-09-03
授权
状态信息
授权
摘要
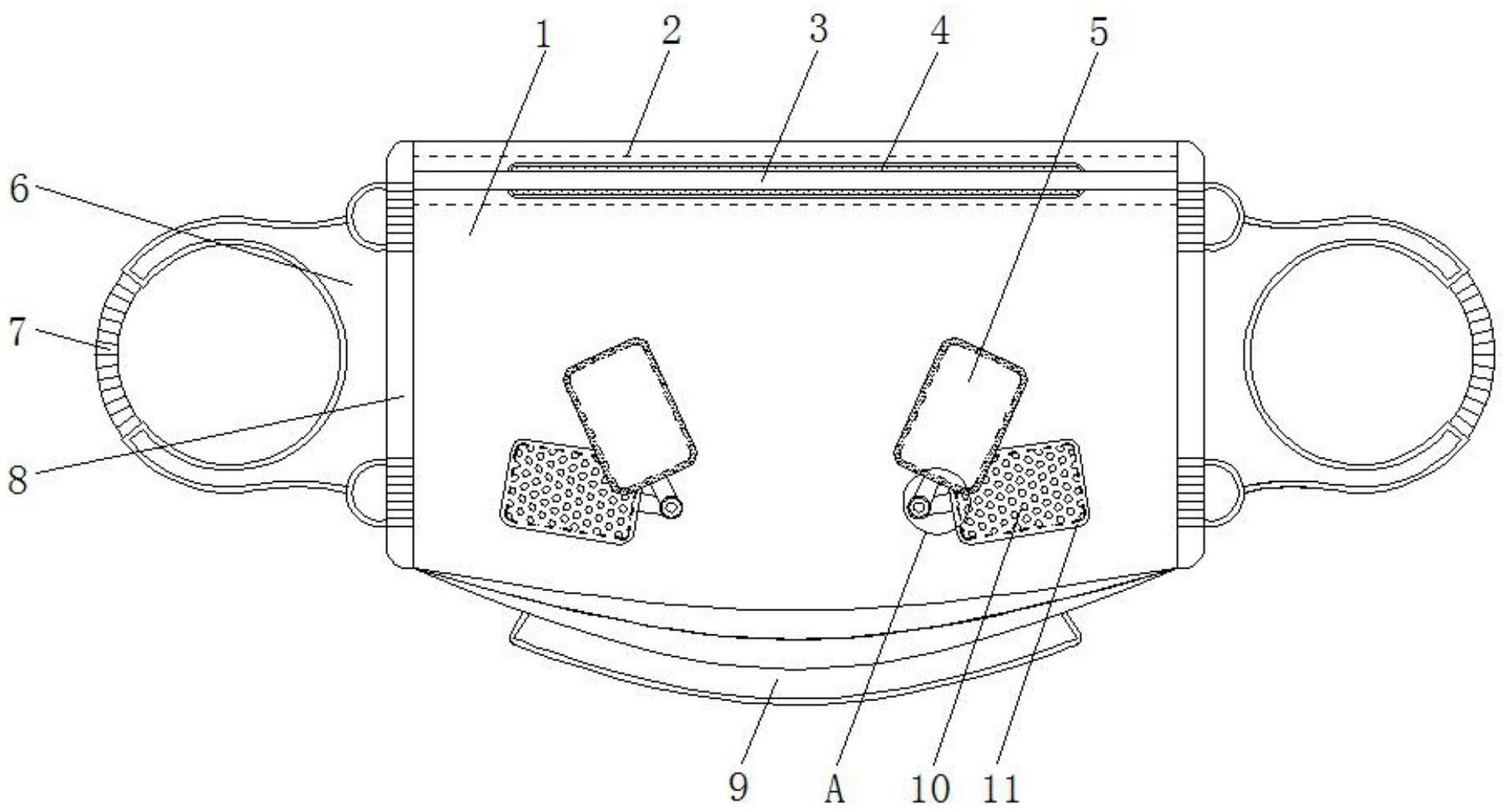
本实用新型公开了一种具有可调节功能的防护口罩,包括主体和吸汗棉,所述主体的顶端内部开设有活动槽,且活动槽的中部穿设有定位条,所述吸汗棉粘接于主体的顶端内壁,且主体的左右端均固定有连接条,所述连接条偏离主体竖直中轴线的一端固定有挂耳,且挂耳偏离主体竖直中轴线的一端粘接有松紧绳,所述主体的前端外壁开设有透气网,且透气网的中部设置有药包,所述透气网靠近主体竖直中轴线的一端焊接有第一活动块,且第一活动块的端部旋接有转轴。该具有可调节功能的防护口罩设置将定位条活动穿设于主体顶部开设的活动槽中,利用定位条,可以使其紧密贴合于鼻梁,起到夹持性能,避免漏气而导致口罩不密封的情况发生。


