授权公布号:CN210522914U
一种新型喷漆枪料罐
有效
申请
2019-07-02
申请公布
1970-01-01
授权
2020-05-15
预估到期
2029-07-02
| 申请号 | CN201921019803.6 |
| 申请日 | 2019-07-02 |
| 授权公布号 | CN210522914U |
| 授权公告日 | 2020-05-15 |
| 分类号 | B05B15/00 |
| 分类 | 一般喷射或雾化;对表面涂覆液体或其他流体的一般方法〔2〕; |
| 申请人名称 | 江苏黑克气动工具有限公司 |
| 申请人地址 | 江苏省南通市吕四港镇东皇山村 |
专利法律状态
2020-05-15
授权
状态信息
授权
摘要
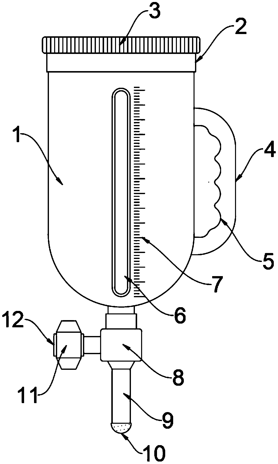
本实用新型公开了一种新型喷漆枪料罐,涉及喷漆枪料罐技术领域,为解决现有侧上壶喷漆枪料罐没有支撑结构,放置时呈倾斜状态,容易导致油漆侧漏的问题。所述侧上壶喷漆枪料罐主体的上方设置有罐盖,所述罐盖的外壁上设置有防滑纹,所述侧上壶喷漆枪料罐主体的内部设置有储料腔,所述侧上壶喷漆枪料罐主体的一侧设置有把手,且把手与侧上壶喷漆枪料罐主体焊接连接,所述侧上壶喷漆枪料罐主体的下方设置有连接腔,所述连接腔的一侧设置有螺纹连接头,所述螺纹连接头的一端设置有输料口,所述罐盖的内壁上设置有螺纹结构,且罐盖通过螺纹结构与侧上壶喷漆枪料罐主体螺纹连接。


