授权公布号:CN219111012U
一种高速公路服务区污水处理装置
有效
申请
2022-12-08
申请公布
1970-01-01
授权
2023-06-02
预估到期
2032-12-08
| 申请号 | CN202223292463.9 |
| 申请日 | 2022-12-08 |
| 授权公布号 | CN219111012U |
| 授权公告日 | 2023-06-02 |
| 分类号 | B01D29/96;B01D29/03;B01D29/64 |
| 分类 | 一般的物理或化学的方法或装置; |
| 申请人名称 | 云南交投生态科技股份有限公司 |
| 申请人地址 | 云南省昆明市市辖区经济技术开发区经浦路6号 |
专利法律状态
2023-06-02
授权
状态信息
授权
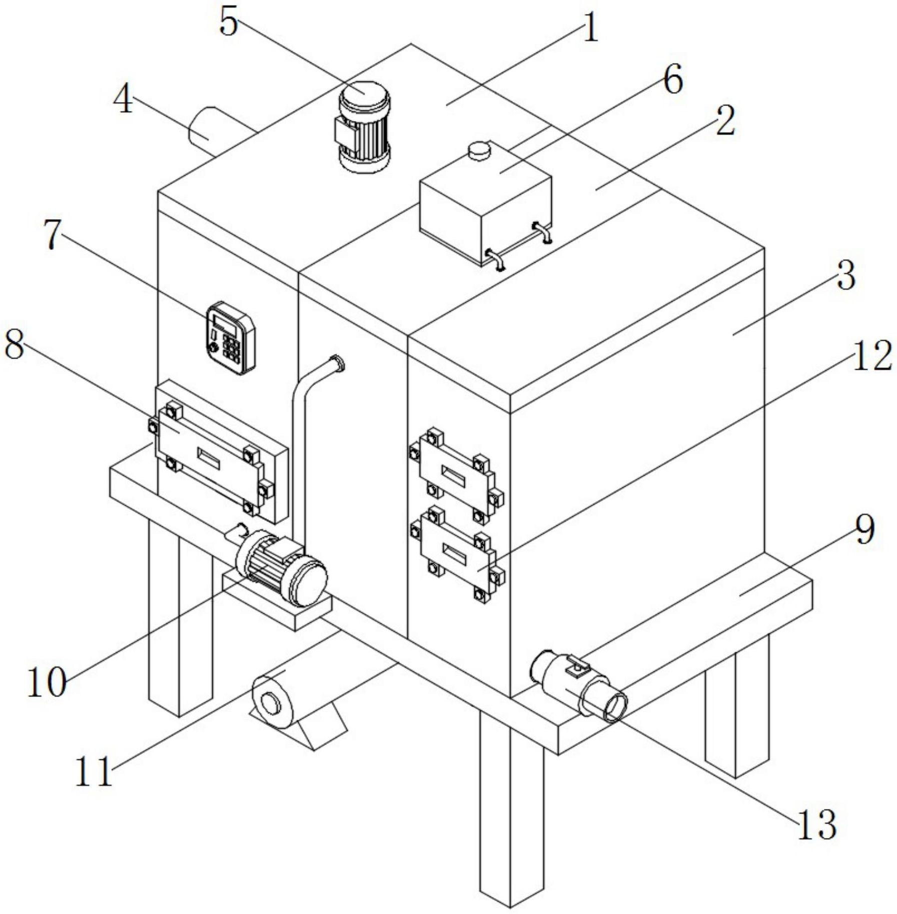
摘要
本实用新型涉及污水处理设备技术领域,具体涉及一种高速公路服务区污水处理装置,包括高效过滤箱,为污水处理装置的多层过滤箱体,其内部均开设有滤板嵌槽,电动缸,其均安装在高效过滤箱的后侧,推板,其均设置在所述高效过滤箱内部的后壁处,推板与电动缸的活塞杆相连接。本实用新型克服了现有技术的不足,通过设置有电动缸和推板,使得在需要对各个过滤板进行拆装更换时,可以先将过滤板处密封连接的螺栓进行拆开,接着再利用操控器对电动缸进行操控,电动缸做功会利用活塞杆对推板进行伸缩推动,实现对安装在高效过滤箱内安装板处的过滤板进行推出,可以减少人员在对过滤板从高效过滤箱内拉出时所花费的力气,提高更换时的便捷性。


