授权公布号:CN218457323U
一种抗起球耐水洗混纺针织棉袜
有效
申请
2022-07-01
申请公布
1970-01-01
授权
2023-02-10
预估到期
2032-07-01
| 申请号 | CN202221686643.2 |
| 申请日 | 2022-07-01 |
| 授权公布号 | CN218457323U |
| 授权公告日 | 2023-02-10 |
| 分类号 | A41B11/00;A41B11/02;A41B11/12;A41B17/00 |
| 分类 | 服装; |
| 申请人名称 | 浙江东方缘针织有限公司 |
| 申请人地址 | 浙江省绍兴市诸暨市大唐街道柱山社区(原金家村) |
专利法律状态
2023-02-10
授权
状态信息
授权
摘要
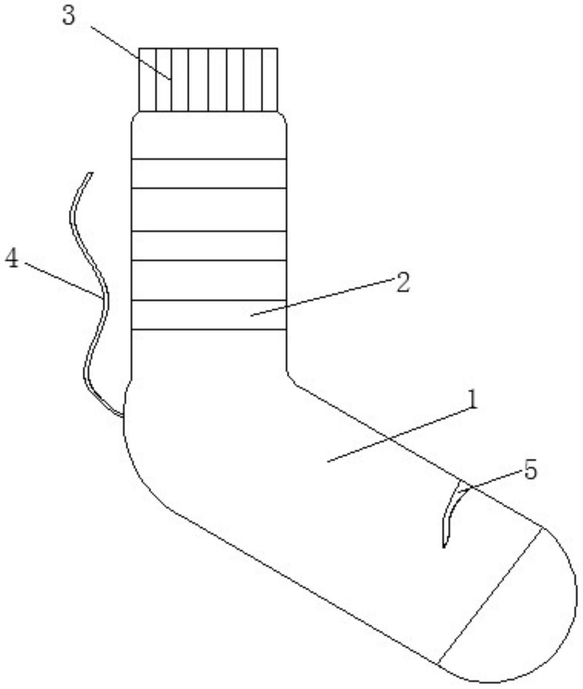
本实用新型涉及针织袜技术领域,公开了一种抗起球耐水洗混纺针织棉袜,包括针织袜本体,所述针织袜本体上部设有松紧束口,且针织袜本体脚踝部具有多个紧固包边,所述针织袜本体脚跟位置处固定有连接带,连接带上设有防滑组件,所述针织袜本体脚背一端开有翻口,所述防滑组件包括固定于连接带一侧的第二魔术贴,所述第二魔术贴全面覆盖连接带一侧,所述连接带远离第二魔术贴一侧粘接有硅胶垫层,所述连接带远离第二魔术贴一侧上端固定有第三魔术贴,所述翻口一侧固定有粘接部,本实用新型,可以将连接带4翻至针织袜本体1底部粘接后,提高防滑效果,将针织袜本体1脚趾部位可以翻至下部,使得脚趾露出,便于用药。


