授权公布号:CN214902030U
一种滨海盐碱地土壤修复系统
有效
申请
2021-03-30
申请公布
1970-01-01
授权
2021-11-30
预估到期
2031-03-30
| 申请号 | CN202120649959.3 |
| 申请日 | 2021-03-30 |
| 授权公布号 | CN214902030U |
| 授权公告日 | 2021-11-30 |
| 分类号 | A01B77/00;A01G25/06;B08B9/043 |
| 分类 | 农业;林业;畜牧业;狩猎;诱捕;捕鱼; |
| 申请人名称 | 深圳中绿环境集团有限公司 |
| 申请人地址 | 广东省深圳市龙岗区龙岗街道南联社区圳埔岭路2号F栋三楼301 |
专利法律状态
2021-11-30
授权
状态信息
授权
摘要
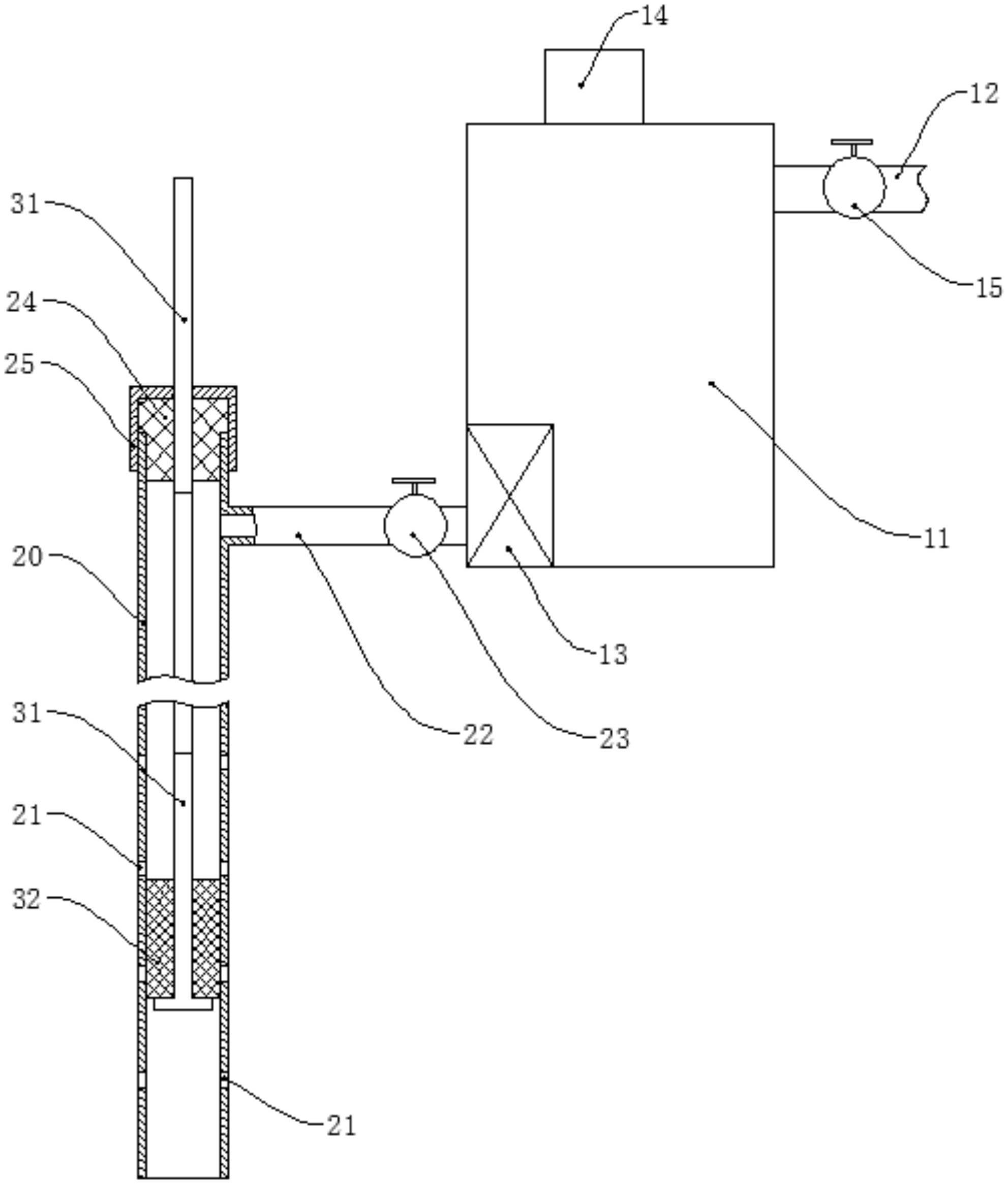
本实用新型提供了一种滨海盐碱地土壤修复系统,属于土壤修复技术领域包括储水装置、压水管和活塞导杆组件,压水管用于打设在土壤中,且侧壁沿长度方向设有若干渗水孔,压水管上部与集水池连通,以将储水装置中的水从渗水孔导入土壤中;活塞导杆组件包括导杆和设在导杆下端的活塞,活塞位于压水管中,导杆用于控制活塞在压水管中的位置。本实用新型一次建设即可长期使用,表层土壤不易出现返盐的现象,能够取得较好的土壤修复效果,而且不会影响地表区域的正常使用,同时有利于合理利用淡水资源,且维护难度和成本低。


