授权公布号:CN215232404U
一种蒸压粉煤灰砖生产中的污水过滤装置
有效
申请
2021-06-17
申请公布
1970-01-01
授权
2021-12-21
预估到期
2031-06-17
| 申请号 | CN202121346306.4 |
| 申请日 | 2021-06-17 |
| 授权公布号 | CN215232404U |
| 授权公告日 | 2021-12-21 |
| 分类号 | B01D29/03;B01D29/84 |
| 分类 | 一般的物理或化学的方法或装置; |
| 申请人名称 | 山东本本鼎环保科技股份有限公司 |
| 申请人地址 | 山东省滨州市无棣县埕口镇东 |
专利法律状态
2021-12-21
授权
状态信息
授权
摘要
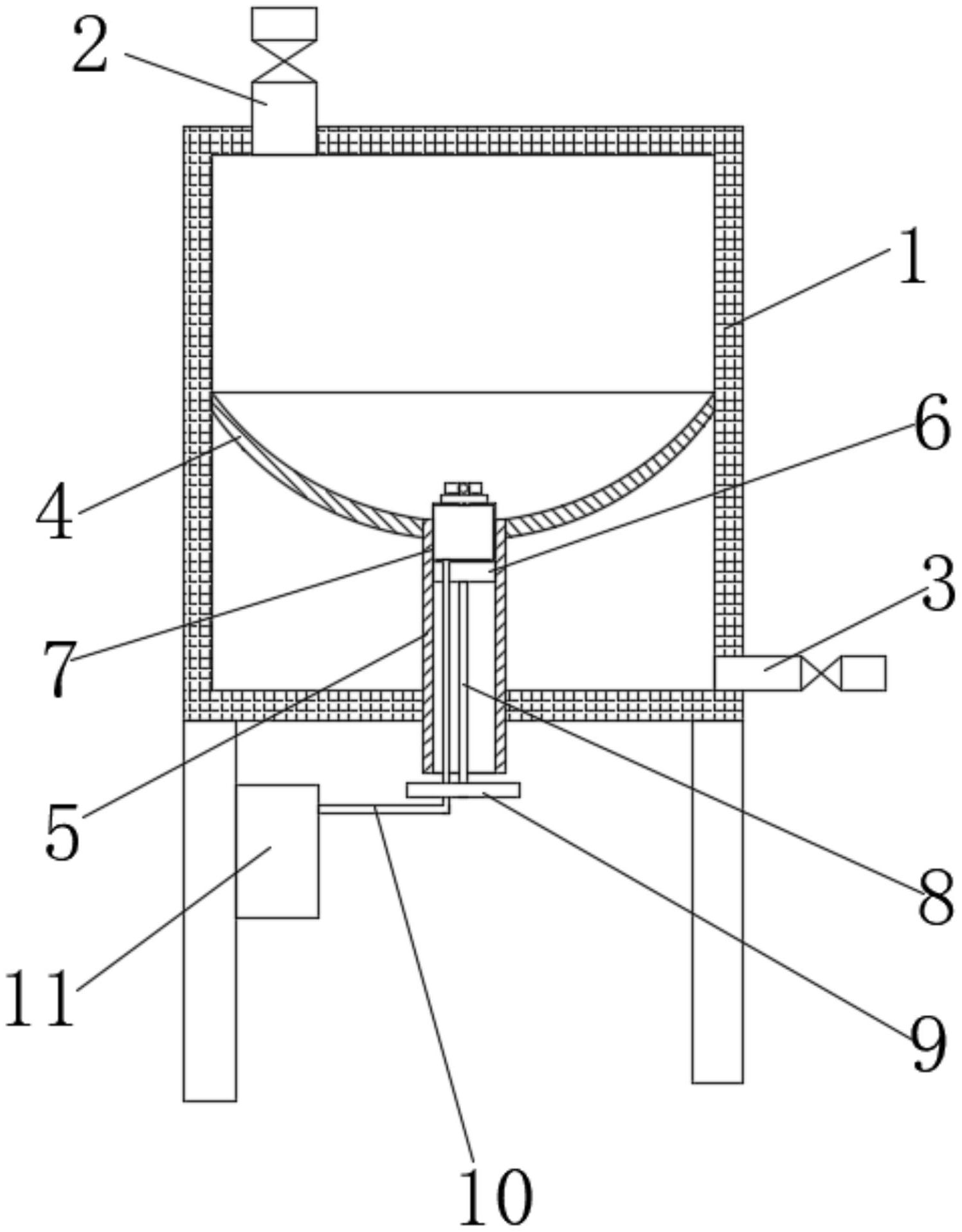
本实用新型涉及蒸压粉煤灰砖技术领域,尤其涉及一种蒸压粉煤灰砖生产中的污水过滤装置,包括罐体,所述罐体的上端安装有进水口,所述罐体侧壁的下端安装有出水口,所述罐体内壁的中部安装有过滤板,所述过滤板为内凹形,过滤板的中部插设有固定管的上端,所述固定管的下端延伸至罐体的外侧,所述固定管的内部设置有活塞,所述活塞的上端胶结有气囊,本装置使用时,通过过滤板对废水进行过滤,过滤完的废水经过出水口排出,当过滤板上滤渣较多时,排尽罐体内的水,打开气泵,通过喷头对滤渣进行吹扫,将滤渣吹干,吹干后,排出气囊内的气体,取出活塞,此时滤渣能够从固定管排出,清理滤渣的过程方便简单,能够有效的提高工作效率。


