授权公布号:CN214687271U
一种蒸压粉煤灰砖加工用上料装置
有效
申请
2020-12-14
申请公布
1970-01-01
授权
2021-11-12
预估到期
2030-12-14
| 申请号 | CN202022987334.6 |
| 申请日 | 2020-12-14 |
| 授权公布号 | CN214687271U |
| 授权公告日 | 2021-11-12 |
| 分类号 | B28C7/06 |
| 分类 | 加工水泥、黏土或石料; |
| 申请人名称 | 山东本本鼎环保科技股份有限公司 |
| 申请人地址 | 山东省滨州市无棣县埕口镇东 |
专利法律状态
2021-11-12
授权
状态信息
授权
摘要
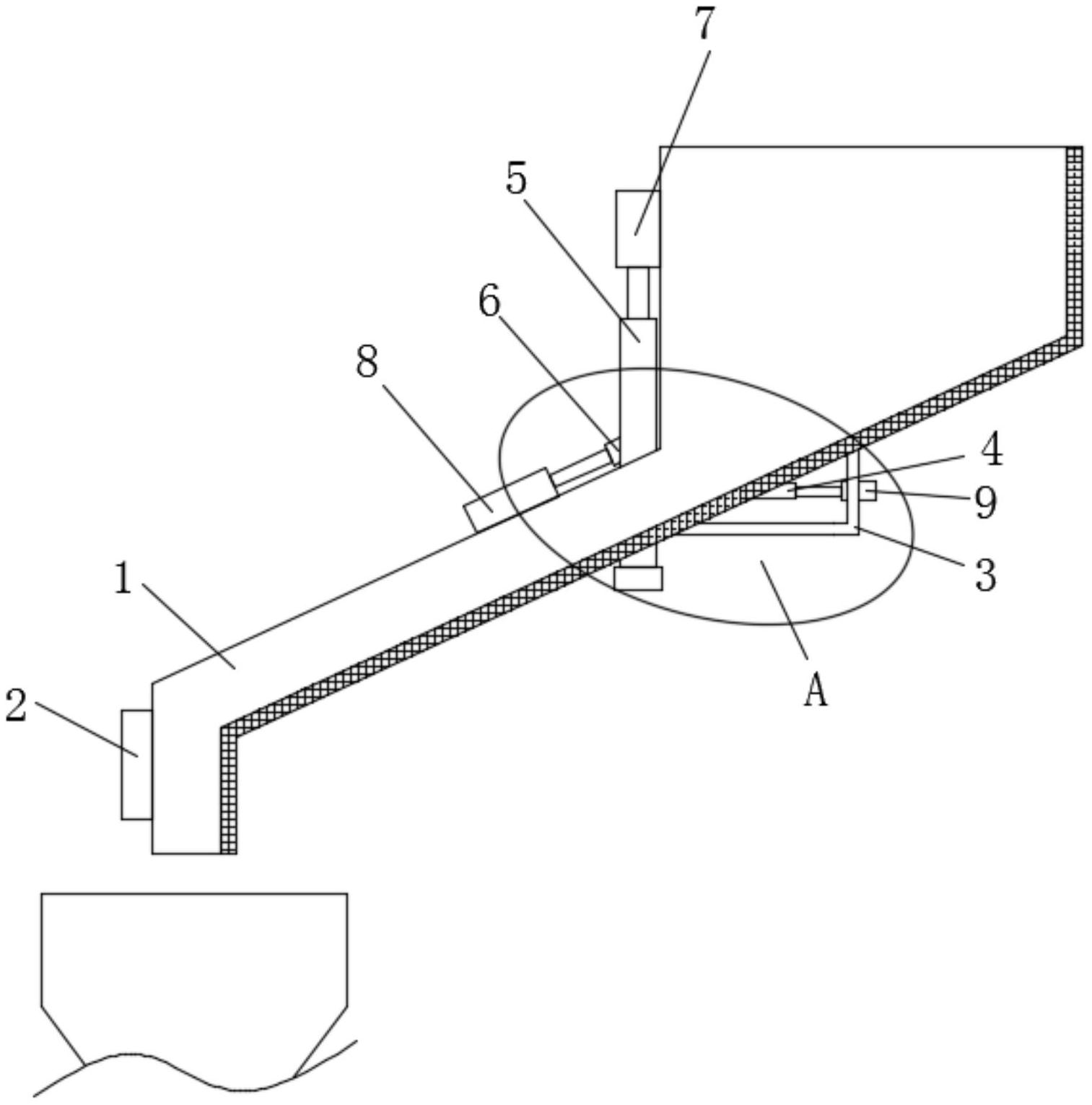
本实用新型涉及蒸压粉煤灰砖加工技术领域,尤其涉及一种蒸压粉煤灰砖加工用上料装置,包括料箱和挡板,所述料箱的出口端位于进料机构的上方,料箱在靠近其出口端的侧壁上安装有控制器,且料箱的下表面上通过固定架安装有电动推杆,电动推杆的输出端上安装有搅动杆,搅动杆的一端活动位于料箱内,所述料箱的中间一侧活动设有挡板,挡板的底端焊有凸块,且挡板上开设有通孔,并且挡板的顶部连接有第一电机,料箱的上表面一侧安装有第二电机,第二电机的输出端上设有定位块,定位块卡于挡板上。相比于现有技术,本实用新型大大提高了在加工过程中上料的顺畅度,解决了物料堆堵在进料口的问题。


