授权公布号:CN212091981U
墙板生产用搅拌装置
有效
申请
2020-04-20
申请公布
1970-01-01
授权
2020-12-08
预估到期
2030-04-20
| 申请号 | CN202020610861.2 |
| 申请日 | 2020-04-20 |
| 授权公布号 | CN212091981U |
| 授权公告日 | 2020-12-08 |
| 分类号 | B01F11/00;B01F15/00 |
| 分类 | 一般的物理或化学的方法或装置; |
| 申请人名称 | 重庆普菲可特科技有限公司 |
| 申请人地址 | 重庆市大足区金山镇磨盘村一社 |
专利法律状态
2020-12-08
授权
状态信息
授权
摘要
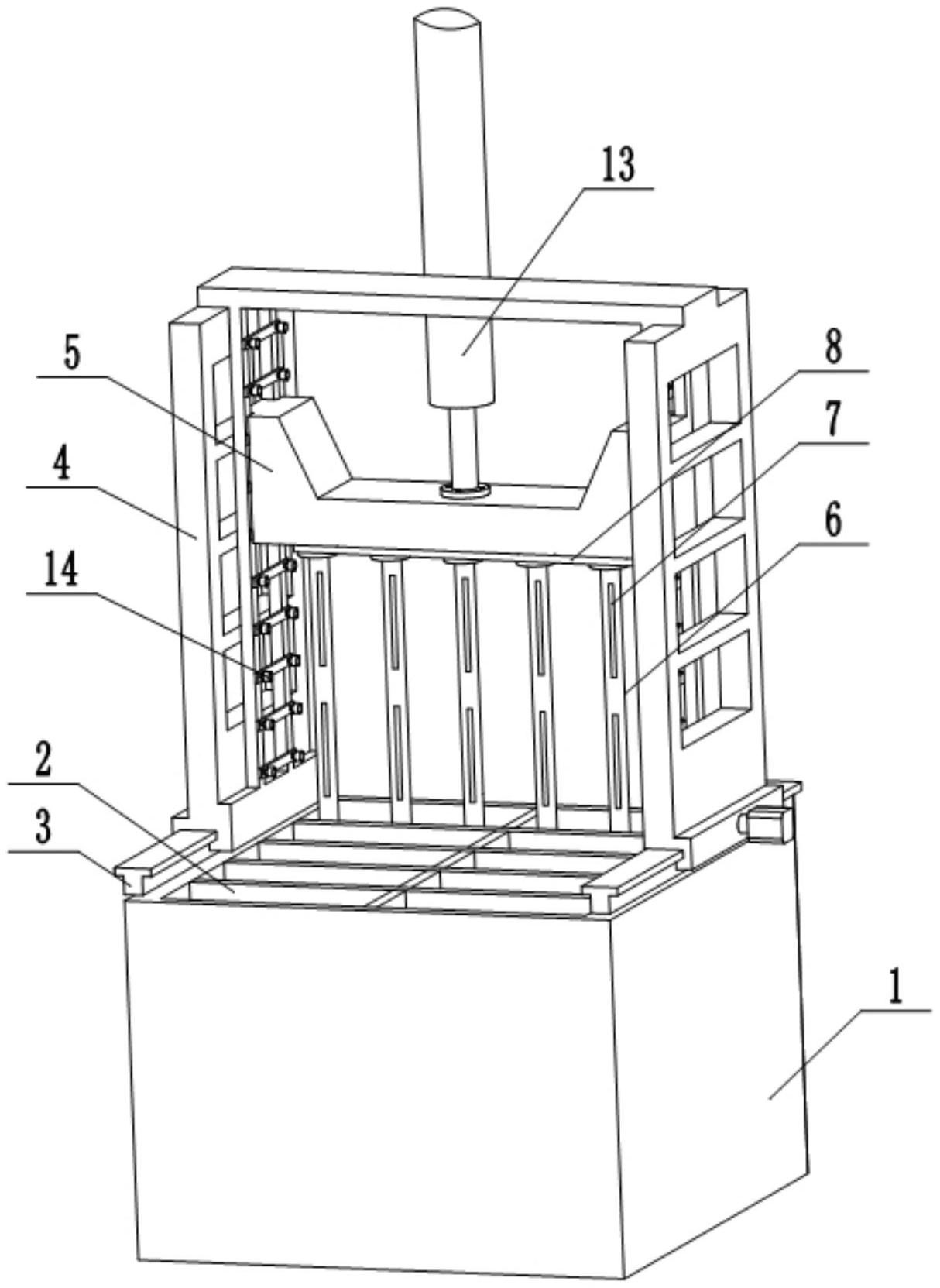
本实用新型涉及建材加工领域,具体公开了墙板生产用搅拌装置,包括可相对模具车移动的车架,车架上竖向滑动连接有支撑机构,支撑机构包括支撑台,支撑台上设置有用于搅拌浆料的搅拌机构,搅拌机构包括若干捅膜杆,且支撑台上设置有用于驱动捅膜杆往复移动的驱动件,捅膜杆上垂直于捅膜杆往复移动方向设置有若干搅拌条。本实用新型解决了现有技术中人工捅膜方式存在的费时费力及墙板密度、混合浆料与两侧面板的贴合度不稳定的问题。


