授权公布号:CN210121896U
生产硅酸钙板的回流装置
有效
申请
2019-01-18
申请公布
1970-01-01
授权
2020-03-03
预估到期
2029-01-18
| 申请号 | CN201920083997.X |
| 申请日 | 2019-01-18 |
| 授权公布号 | CN210121896U |
| 授权公告日 | 2020-03-03 |
| 分类号 | B28B17/00 |
| 分类 | 加工水泥、黏土或石料; |
| 申请人名称 | 台荣建材(湖州)有限公司 |
| 申请人地址 | 浙江省湖州市长兴县洪桥镇工业园区 |
专利法律状态
2020-03-03
授权
状态信息
授权
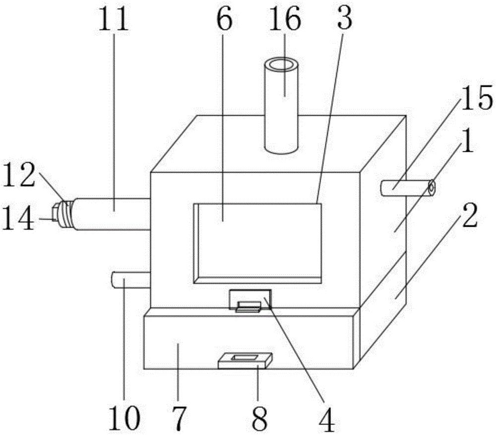
摘要
本实用新型公开的生产硅酸钙板的回流装置,包括机壳和加热炉,所述机壳的前面设置有观察窗和子母合页,所述观察窗的内部安装有塑料凹槽板,且塑料凹槽板的内部安装有透明密封板,所述子母合页的一端安装有防水罩,且防水罩的前面安装有把手,所述防水罩的后面安装有磁铁。本实用新型所述的生产硅酸钙板的回流装置,设有防水罩、密封螺杆和观察窗,能够在潮湿环境中,阻止水汽落在控制面板上,能够使生产硅酸钙板的回流装置的内部达到密封环境,能够在生产硅酸钙板的回流装置工作时,时刻观察到生产硅酸钙板的回流装置的内部工作情况,为生产硅酸钙板的回流装置的使用带来了便利,具有一定的实用性,带来更好的使用前景。


