授权公布号:CN214413954U
一种新型冲皮装置
有效
申请
2021-02-25
申请公布
1970-01-01
授权
2021-10-19
预估到期
2031-02-25
| 申请号 | CN202120408541.3 |
| 申请日 | 2021-02-25 |
| 授权公布号 | CN214413954U |
| 授权公告日 | 2021-10-19 |
| 分类号 | A21C11/10 |
| 分类 | 焙烤;制作或处理面团的设备;焙烤用面团〔1,8〕; |
| 申请人名称 | 河南中博食品机械有限公司 |
| 申请人地址 | 河南省新乡市新乡县七里营镇金融大道11号 |
专利法律状态
2021-10-19
授权
状态信息
授权
摘要
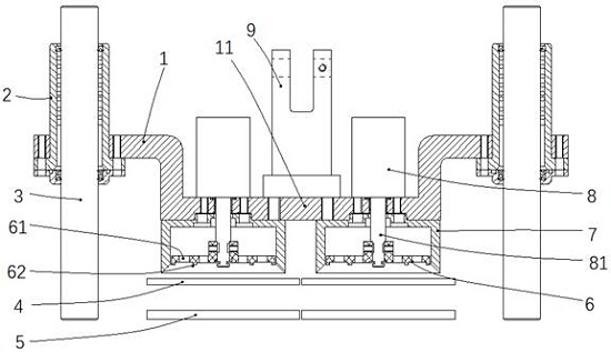
一种新型冲皮装置,包括推板,推板的两端滑动安装在竖向的导向杆上,推板的中部向下弯折形成凹槽,在推板上位于凹槽下方的位置固设有向下开口的切刀,在切刀下方设有刀板,在切刀内活套有推皮板,在凹槽内对应切刀的位置固设有竖向的推杆,推杆的下端与推皮板固定连接,推杆的上端与驱动装置联动。在推板的中部设置凹槽,将驱动装置设置在凹槽内,切刀直接固定在推板上,结构紧凑,节省上下占用空间,方便在有限的空间安装和固定本实用新型;将切刀直接固定在推板上,配件少,便于装配和维护;本实用新型结构整体简单紧凑,方便操作。


