授权公布号:CN212583458U
一种防猫眼开锁的门锁装置
有效
申请
2020-06-01
申请公布
1970-01-01
授权
2021-02-23
预估到期
2030-06-01
| 申请号 | CN202020977195.6 |
| 申请日 | 2020-06-01 |
| 授权公布号 | CN212583458U |
| 授权公告日 | 2021-02-23 |
| 分类号 | E05B63/14; |
| 分类 | 锁;钥匙;门窗零件;保险箱; |
| 申请人名称 | 中山市德利智能科技有限公司 |
| 申请人地址 | 广东省中山市小榄镇绩西悦盛工业区中山市德利智能科技有限公司 |
专利法律状态
2021-02-23
授权
状态信息
授权
摘要
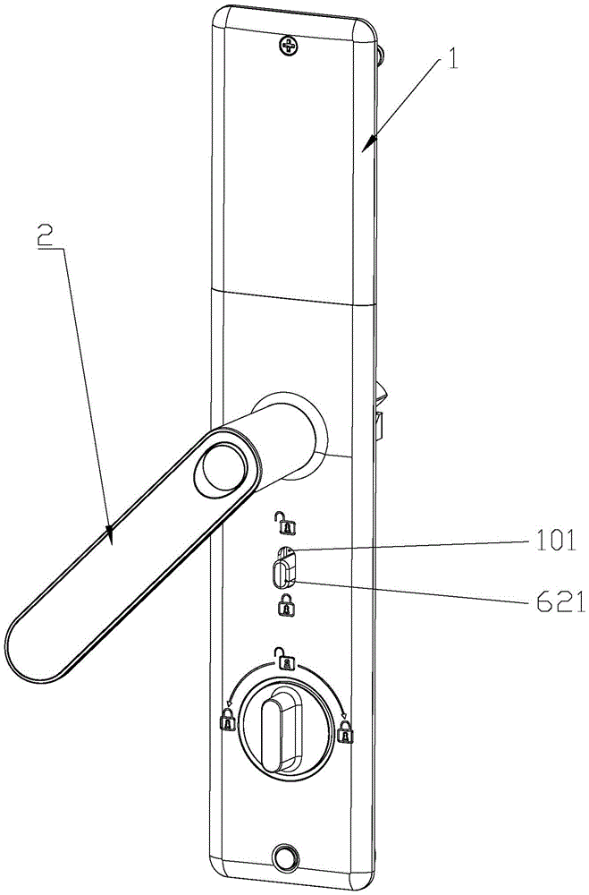
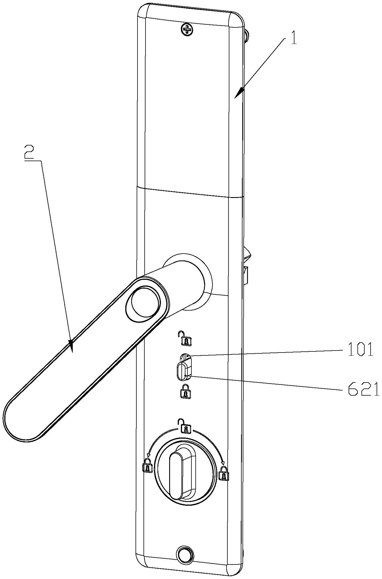
本实用新型公开了一种防猫眼开锁的门锁装置,包括有面板和把手,面板上转动连接有一端能穿过面板并与把手连接的转动座,转动座上设有能相对其转动的转子,面板上还设置有离合组件,离合组件包括有滑动设置在转动座内的离合销,转子上开设有可供离合销插入的插槽,离合组件还包括有套设在离合销上的离合销压簧,面板上设有能驱动离合组件动作的驱动装置,驱动装置包括有驱动盒体,驱动盒体内设有推动块,推动块上突出设置有外露于面板的拨动按钮,所述的面板上开设有可供拨动按钮在内滑动的条形槽。本实用新型结构简单,通过操作面板上的拨动按钮,能够使得把手与转子分离,防止从猫眼伸进作案工具推动把手开锁,起到防盗的效果。


