授权公布号:CN218946818U
一种螺栓装配用顶升装置
有效
申请
2022-10-27
申请公布
1970-01-01
授权
2023-05-02
预估到期
2032-10-27
| 申请号 | CN202222840202.X |
| 申请日 | 2022-10-27 |
| 授权公布号 | CN218946818U |
| 授权公告日 | 2023-05-02 |
| 分类号 | B23P19/00 |
| 分类 | 机床;不包含在其他类目中的金属加工; |
| 申请人名称 | 鹏驰五金制品有限公司 |
| 申请人地址 | 广东省东莞市黄江镇长龙村 |
专利法律状态
2023-05-02
授权
状态信息
授权
摘要
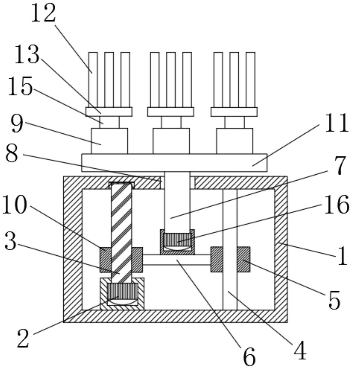
本申请公开了一种螺栓装配用顶升装置,涉及螺栓装配用顶升装置技术领域,包括上料台、电机一和丝杆,丝杆远离电机一的一端通过轴承与上料台的顶端内壁转动连接,丝杆的外表面螺纹连接有移动块,移动块的右侧外表面固定连接有连接板,连接板的上表面固定连接有电机二,电机二的输出端固定连接有转动轴,上料台的上表面开设有通孔,转动轴远离连接板的一端穿过通孔后固定连接有转盘,转盘的上表面固定连接有电动缸,电动缸的上表面安装有活塞杆,活塞杆远离电动缸的一端固定连接有托盘,托盘的上表面叠放有螺母套,托盘的上表面边缘固定连接有限位杆;通过以上结构的配合可以减少机械手的行程路径,缩减装配时间,从而提高装配效率。


