授权公布号:CN210499184U
一种拉爆螺杆组装设备用的卷管上料机构
有效
申请
2019-08-29
申请公布
1970-01-01
授权
2020-05-12
预估到期
2029-08-29
| 申请号 | CN201921429159.X |
| 申请日 | 2019-08-29 |
| 授权公布号 | CN210499184U |
| 授权公告日 | 2020-05-12 |
| 分类号 | B23P21/00 |
| 分类 | 机床;不包含在其他类目中的金属加工; |
| 申请人名称 | 鹏驰五金制品有限公司 |
| 申请人地址 | 广东省东莞市黄江镇长龙金竹园工业区 |
专利法律状态
2020-05-12
授权
状态信息
授权
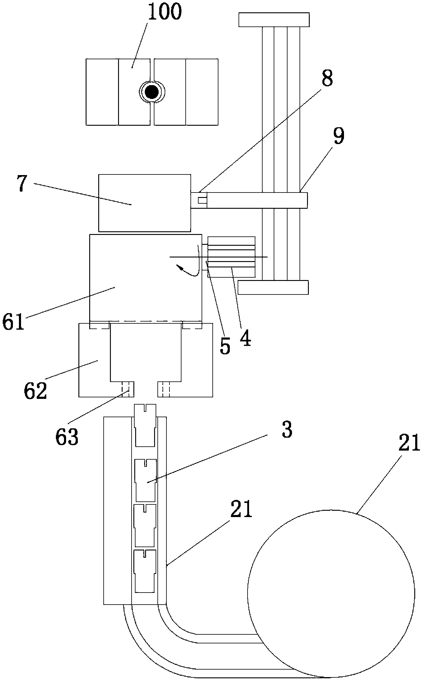
摘要
本实用新型涉及膨胀螺杆组装设备技术领域,具体涉及一种拉爆螺杆组装设备用的卷管上料机构,包括用于输送平方状态下的卷管的振动输送带,振动输送带的出口端依次设置有翻转工位和装配工位,翻转工位的上方设置有可移动装配工位的抓取机构;装配工位固定有待装配的螺杆;旋转工位包括第一双向平移气缸,第一双向平移气缸的工作端设置有成对的第一L型滑块,第一双向平移气缸的一侧设置有旋转气缸,旋转气缸的旋转盘与第一双向平移气缸的缸体固接;抓取机构包括第二双向平移气缸,第二双向平移气缸的工作端设置有成对的第二L型滑块;与现有技术相比,本申请的卷管上料机构结构简单紧凑,造价成本低,有效地提高卷管上料的工作效率和质量。


