授权公布号:CN214600405U
一种中高密度纤维板生产用风选纤维砂光粉风选机
有效
申请
2020-12-31
申请公布
1970-01-01
授权
2021-11-05
预估到期
2030-12-31
| 申请号 | CN202023299988.6 |
| 申请日 | 2020-12-31 |
| 授权公布号 | CN214600405U |
| 授权公告日 | 2021-11-05 |
| 分类号 | B07B11/08 |
| 分类 | 将固体从固体中分离;分选; |
| 申请人名称 | 东营东康人造板有限公司 |
| 申请人地址 | 山东省东营市东营区南一路9号 |
专利法律状态
2021-11-05
授权
状态信息
授权
摘要
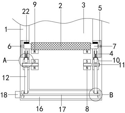
本实用新型公开了一种中高密度纤维板生产用风选纤维砂光粉风选机,包括:主体,所述主体包括机体和滤网,所述机体内开设有工作腔,所述工作腔左右腔壁均开设有安装槽,所述安装槽内固定安装有滑杆,所述滑杆上滑动套接有滑块,两个所述滑块相互靠近的一端固定安装有安装块,所述滤网的左右侧壁与两个安装块相互靠近的一端固定连接;抖动机构,所述抖动机构包括多个第一磁铁和多个第二磁铁,多个所述第二磁铁与滤网下表面固定安装;驱动机构,所述驱动机构用于控制多根转动杆发生转动。启动电机,第一磁铁随着转动杆发生转动,第一磁铁与第二磁铁相互靠近的一面磁极不断变化,在磁力的作用下滤网便会不断震动,从而达到清理的效果。


