授权公布号:CN214604941U
一种中高密度纤维板生产用木质纤维干燥系统
有效
申请
2020-12-31
申请公布
1970-01-01
授权
2021-11-05
预估到期
2030-12-31
| 申请号 | CN202023310237.X |
| 申请日 | 2020-12-31 |
| 授权公布号 | CN214604941U |
| 授权公告日 | 2021-11-05 |
| 分类号 | B27N3/18;B27N3/12 |
| 分类 | 木材或类似材料的加工或保存;一般钉钉机或钉U形钉机; |
| 申请人名称 | 东营东康人造板有限公司 |
| 申请人地址 | 山东省东营市东营区南一路9号 |
专利法律状态
2021-11-05
授权
状态信息
授权
摘要
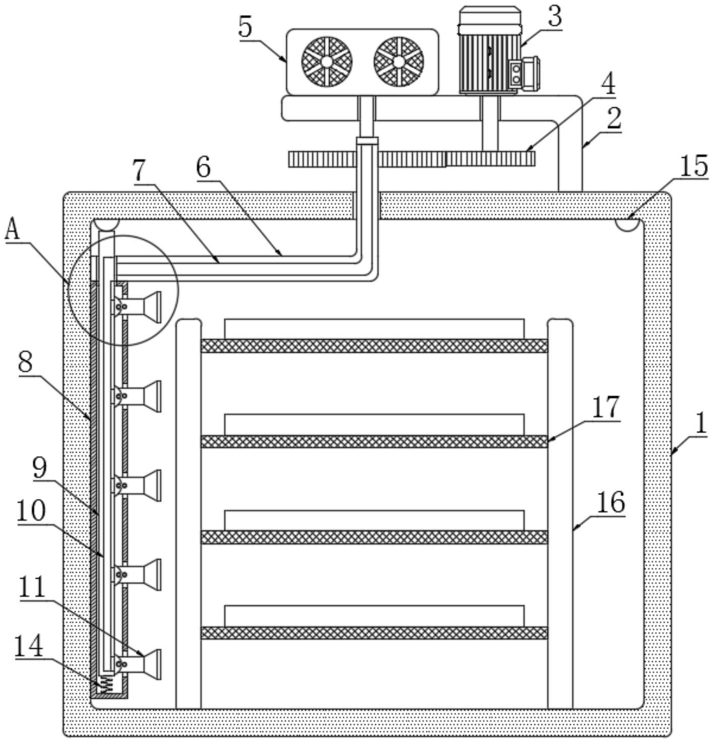
本实用新型公开了一种中高密度纤维板生产用木质纤维干燥系统,包括烘干箱,所述烘干箱的内底部固定连接有两个安装板,两个所述安装板相对的侧壁共同固定连接有多个放置网,所述烘干箱的上侧固定连接有支撑架,所述支撑架的上侧固定连接有烘干机,所述烘干箱的内部设有用于对纤维板进行烘干的烘干机构。本实用新型结构设计合理,能够防止纤维板堆积在一起影响其烘干效果,且利用放置网使得热风能与纤维板的下侧相接触,其次能够实现改变风向的目的,使得每一层的纤维板的上侧与下侧均能与热风充分接触,保证成品的质量,大大提高了工作效率。


