授权公布号:CN218792273U
一种指套式血氧测量仪
有效
申请
2022-07-15
申请公布
1970-01-01
授权
2023-04-07
预估到期
2032-07-15
| 申请号 | CN202221874862.3 |
| 申请日 | 2022-07-15 |
| 授权公布号 | CN218792273U |
| 授权公告日 | 2023-04-07 |
| 分类号 | A61B5/145 |
| 分类 | 医学或兽医学;卫生学; |
| 申请人名称 | 深圳市其利天下技术开发有限公司 |
| 申请人地址 | 广东省深圳市龙华区观湖街道鹭湖社区观乐路5号多彩科创园D座206 |
专利法律状态
2023-04-07
授权
状态信息
授权
摘要
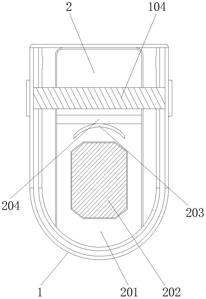
本实用新型涉及血氧测量仪技术领域,且公开了一种指套式血氧测量仪,包括血氧测量仪和定位机构,所述定位机构活动安装于血氧测量仪内部,所述血氧测量仪设置于定位机构外表面,所述插口开设于定位机构表面一侧,所述定位机构内侧底部开设有卡槽,所述卡槽底部中心位置活动安装有血氧饱和度传感器。本实用新型通过插口内部与卡槽顶部表面相对应连通,插口分为上下两个卡环,且上下两个卡环通过设置的轴承和转动杆活动接触,患者需要做血氧监测时,通过轴承和转动杆可将上下两个卡环展开一定的角度,便于患者将手指从插口位置插接进入到卡槽内部,同时卡接完成后,上卡环与手指卡接,起到固定卡接的作用,对患者进行指套式血氧监测。


