授权公布号:CN214354759U
一种高强度密度板
失效
申请
2021-01-06
申请公布
1970-01-01
授权
2021-10-08
预估到期
2031-01-06
| 申请号 | CN202120028703.0 |
| 申请日 | 2021-01-06 |
| 授权公布号 | CN214354759U |
| 授权公告日 | 2021-10-08 |
| 分类号 | B32B33/00;B32B7/12;B32B3/30;B32B3/08;B32B27/32;B32B27/06;B32B9/02;B32B9/04;B32B21/02;B27D1/00 |
| 分类 | 层状产品; |
| 申请人名称 | 茌平县信力达木业有限公司 |
| 申请人地址 | 山东省聊城市茌平西外环高新技术工业园区 |
专利法律状态
2024-01-12
专利权的终止
状态信息
未缴年费专利权终止;IPC(主分类):B32B 33/00;专利号:ZL2021200287030;申请日:20210106;授权公告日:20211008;终止日期:
2021-10-08
授权
状态信息
授权
摘要
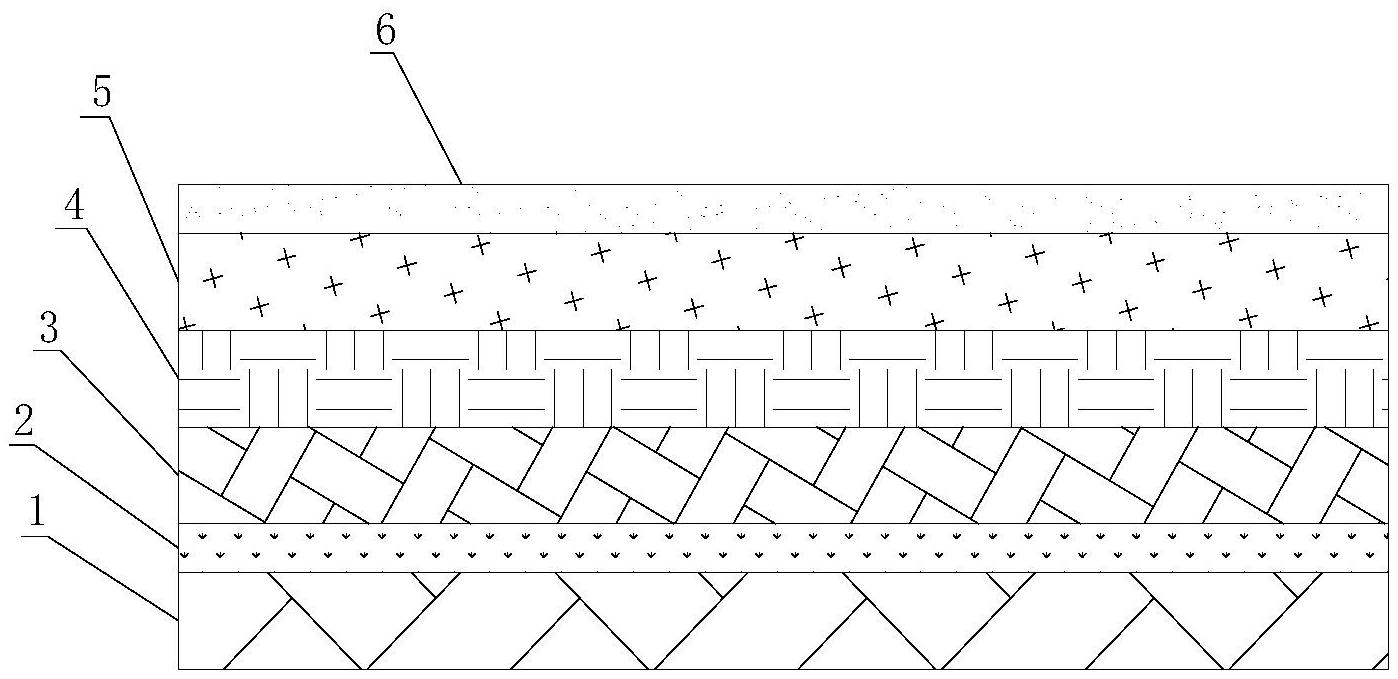
本实用新型涉及密度板技术领域,且公开了一种高强度密度板,包括基板,所述基板的上方设置有加强板,所述加强板的底部与粘胶层的顶部固定连接,所述粘胶层的底部与基板的顶部固定连接,所述加强板的左侧开设在有第一凹槽,所述第一凹槽的内壁与第一缓冲板的外壁固定连接,所述加强板的左侧开设有第二凹槽。通过设置的加强板以及在加强板内部设置的第一缓冲板、第二缓冲板可以起到缓冲作用,降解外力的冲击力,最后可以避免密度板内部结构因为外力冲击而损坏;通过设置的阻燃层可以使密度板在高温环境下起到阻燃效果,同时通过设置的阻燃剂可以起到良好的冷却的作用,加强密度板使用性能。


