授权公布号:CN215511510U
一种安全性高的阻燃刨花板
失效
申请
2021-01-06
申请公布
1970-01-01
授权
2022-01-14
预估到期
2031-01-06
| 申请号 | CN202120028718.7 |
| 申请日 | 2021-01-06 |
| 授权公布号 | CN215511510U |
| 授权公告日 | 2022-01-14 |
| 分类号 | B27N1/02;B27N3/04 |
| 分类 | 木材或类似材料的加工或保存;一般钉钉机或钉U形钉机; |
| 申请人名称 | 茌平县信力达木业有限公司 |
| 申请人地址 | 山东省聊城市茌平西外环高新技术工业园区 |
专利法律状态
2024-01-12
专利权的终止
状态信息
未缴年费专利权终止;IPC(主分类):B27N1/02;专利号:ZL2021200287187;申请日:20210106;授权公告日:20220114;终止日期:
2022-01-14
授权
状态信息
授权
摘要
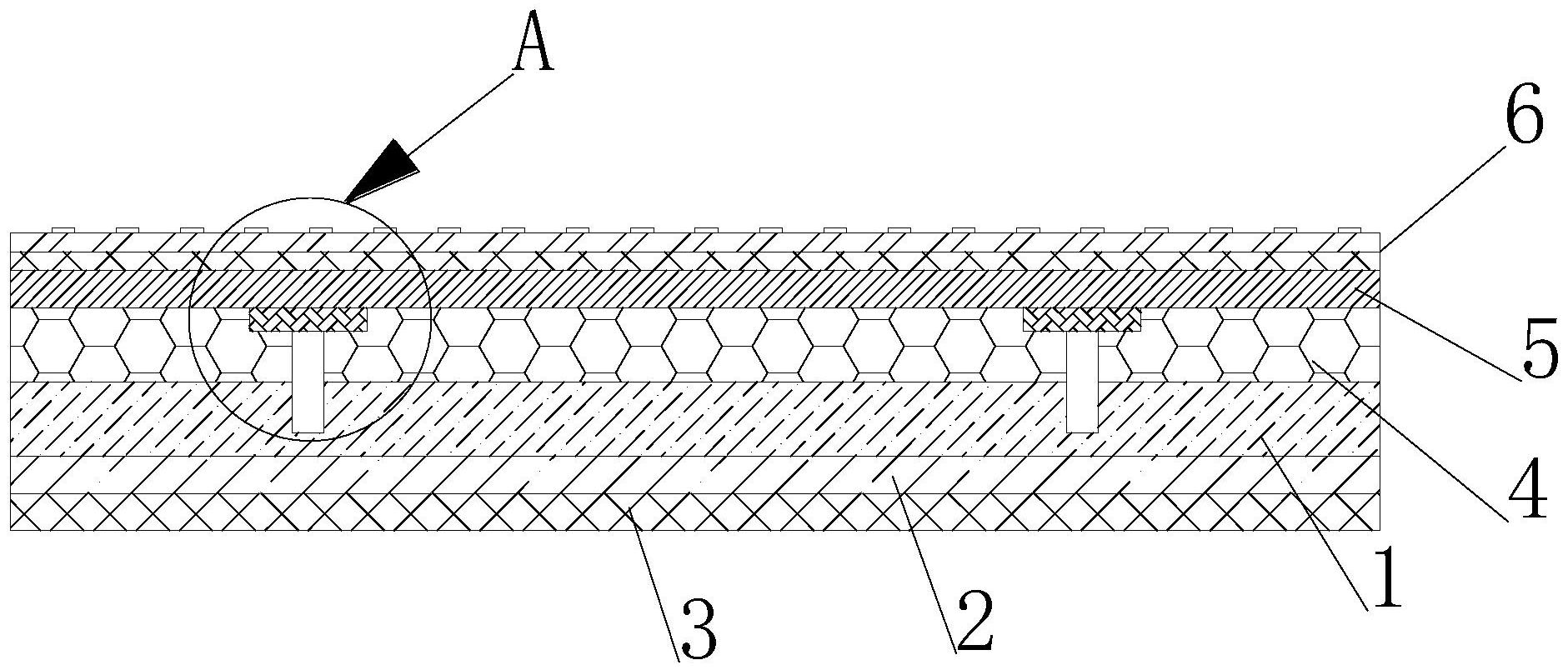
本实用新型涉及刨花板技术领域,且公开了一种安全性高的阻燃刨花板,包括基板层,所述基板层水平设置,所述基板层底面与隔热层顶面固定连接。通过由聚乙酸乙烯酯胶与竹纤维混合压制而成的浸胶竹纤维板作为基板层设置,由于聚乙酸乙烯酯胶具有一定的阻燃性,提高了该刨花板的阻燃性,通过设置导热杆吸收热量再通过散热层将热量散发出去,以降低中间的基板层的温度,避免中间的基板层温度过高而自燃,提高了对基板层的保护效果,提高了刨花板的阻燃性能,因此提高了刨花板使用的安全性,通过设置耐磨层和防滑条提高该刨花板的耐磨性,增大刨花板表面的摩擦力,提高刨花板的防滑性,进一步提高刨花板的安全性。


