授权公布号:CN217054548U
一种养鸡用的有机肥环保加工棚
有效
申请
2021-12-14
申请公布
1970-01-01
授权
2022-07-26
预估到期
2031-12-14
| 申请号 | CN202123142447.7 |
| 申请日 | 2021-12-14 |
| 授权公布号 | CN217054548U |
| 授权公告日 | 2022-07-26 |
| 分类号 | E04H5/08;E04B1/343;B01D53/04;B01D46/10;C05F3/06 |
| 分类 | 建筑物; |
| 申请人名称 | 湖南省鹏晖农牧有限公司 |
| 申请人地址 | 湖南省益阳市安化县东坪镇中砥村 |
专利法律状态
2022-07-26
授权
状态信息
授权
摘要
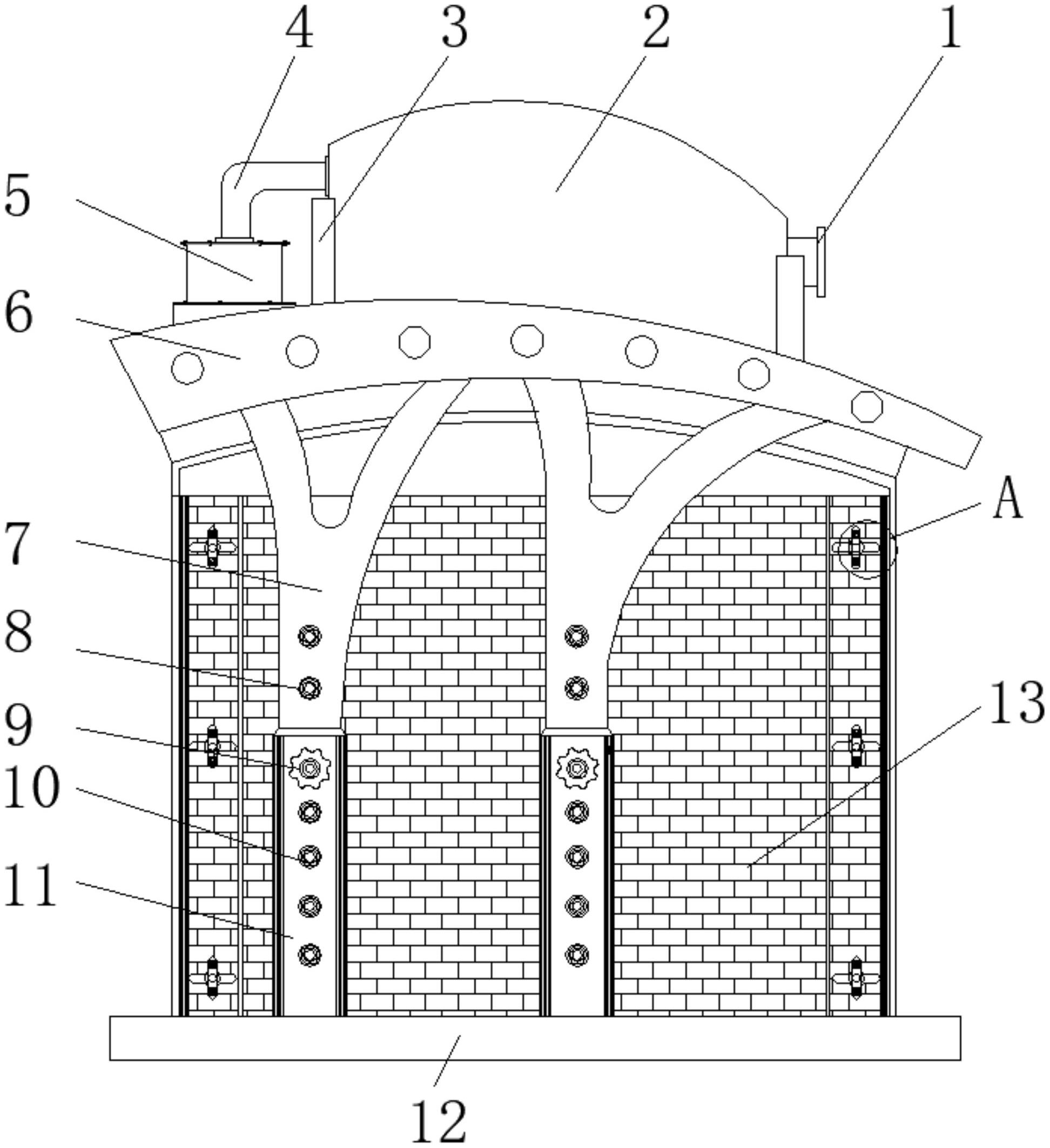
本实用新型公开了一种养鸡用的有机肥环保加工棚,包括净化罐、顶棚、底座和侧板,底座顶部的两侧焊接有套筒,且套筒在底座的顶部设置有四个,套筒上均匀设置有限位孔,套筒的顶部活动设置有支撑杆,套筒的外部活动设置有螺纹旋钮,支撑杆的外部均匀设置有螺纹孔,支撑杆的顶部焊接有顶棚,且顶棚顶部的中心位置焊接有第一限位块,且第一限位块之间放置有净化罐。本实用新型通过转动螺纹旋钮,从而使支撑杆与套筒松动,从而可以使支撑杆在套筒中相互移动,然后通过转动螺纹旋钮,从而对支撑杆和套筒相互固定,实现了可以根据需要调节安装高度的目的。


