授权公布号:CN217052067U
一种鸡类养殖的环保型鸡粪处理装置
有效
申请
2021-12-21
申请公布
1970-01-01
授权
2022-07-26
预估到期
2031-12-21
| 申请号 | CN202123223754.8 |
| 申请日 | 2021-12-21 |
| 授权公布号 | CN217052067U |
| 授权公告日 | 2022-07-26 |
| 分类号 | C05F3/06;C02F11/02;C02F103/20N |
| 分类 | 肥料;肥料制造〔4〕; |
| 申请人名称 | 湖南省鹏晖农牧有限公司 |
| 申请人地址 | 湖南省益阳市安化县东坪镇中砥村 |
专利法律状态
2022-07-26
授权
状态信息
授权
摘要
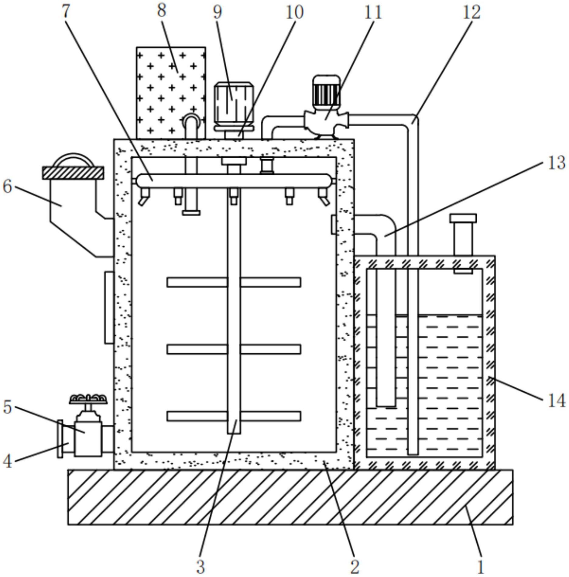
本实用新型公开了一种鸡类养殖的环保型鸡粪处理装置,包括装置底座、处理箱、搅拌桨、加热箱和净化水箱,装置底座的顶端固定有处理箱,且处理箱一侧的装置底座顶端固定有净化水箱,处理箱顶部的外壁上设置有进料斗,进料斗与处理箱相连通,且进料斗下方的处理箱外壁上固定有排料管,排料管与处理箱相连通,并且排料管的内部安装有控制阀,处理箱顶端的一侧安装有加热箱,且加热箱的一侧安装有引风机,处理箱顶端的另一侧安装有水泵,且水泵的输入端安装有引水管。本实用新型不仅便于对氨气进行净化,使得鸡粪的处理更加环保,提高了鸡粪发酵的均匀性和速率,而且便于对装置内壁进行冲洗。


