授权公布号:CN217422053U
一种便于检修的鸡粪场摆线针减速机
有效
申请
2021-12-14
申请公布
1970-01-01
授权
2022-09-13
预估到期
2031-12-14
| 申请号 | CN202123137826.7 |
| 申请日 | 2021-12-14 |
| 授权公布号 | CN217422053U |
| 授权公告日 | 2022-09-13 |
| 分类号 | F16H1/32;F16H57/023;F16H57/04;H02K7/116 |
| 分类 | 工程元件或部件;为产生和保持机器或设备的有效运行的一般措施;一般绝热; |
| 申请人名称 | 湖南省鹏晖农牧有限公司 |
| 申请人地址 | 湖南省益阳市安化县东坪镇中砥村 |
专利法律状态
2022-09-13
授权
状态信息
授权
摘要
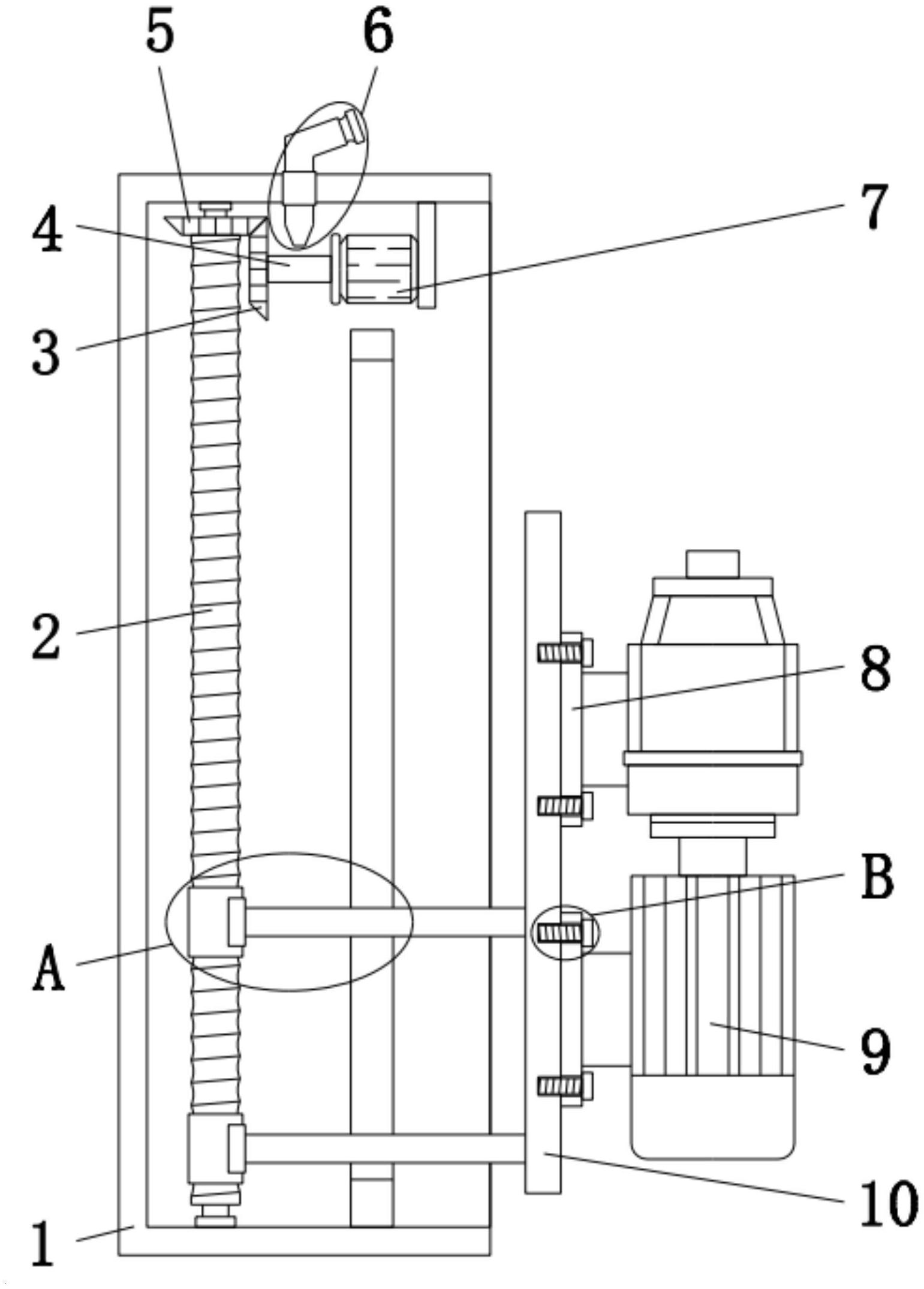
本实用新型公开了一种便于检修的鸡粪场摆线针减速机,包括机框、转轴、电机、减速机本体和承载板,机框顶部的一侧通过支板安装有电机,且电机的输出端通过联轴器安装有转轴,并且转轴远离电机的一端安装有主动锥形齿,转轴上方的机框顶部设有润滑结构,主动锥形齿远离转轴一侧的机框顶部转动连接有从动锥形齿,从动锥形齿与主动锥形齿相互啮合,且从动锥形齿底端的中心位置处固定有丝杆,丝杆的底端与机框的底部转动连接,并且丝杆一侧的机框底部安装有限位框。本实用新型不仅提高了摆线针减速机的适用范围,提高了摆线针减速机使用时的便捷性,而且确保了摆线针减速机使用时丝杆的传动效率。


