授权公布号:CN219182442U
一种蛋鸡养殖用鸡蛋拾取夹
有效
申请
2023-02-09
申请公布
1970-01-01
授权
2023-06-16
预估到期
2033-02-09
| 申请号 | CN202320173152.6 |
| 申请日 | 2023-02-09 |
| 授权公布号 | CN219182442U |
| 授权公告日 | 2023-06-16 |
| 分类号 | A01K31/16 |
| 分类 | 农业;林业;畜牧业;狩猎;诱捕;捕鱼; |
| 申请人名称 | 湖南省鹏晖农牧有限公司 |
| 申请人地址 | 湖南省益阳市安化县东坪镇中砥村 |
专利法律状态
2023-06-16
授权
状态信息
授权
摘要
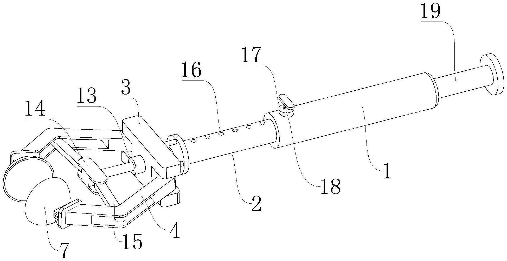
本实用新型涉及鸡蛋拾取技术领域,公开了一种蛋鸡养殖用鸡蛋拾取夹,包括连接筒,连接筒的内壁上滑动卡接有调节杆,调节杆的一端固定连接有连接板,连接板的两端分别铰接有夹持杆,夹持杆的一端固定连接有框架,框架的内部卡接有卡接板,卡接板的一端固定连接有拾取罩,框架的一侧壁上安装有支撑板,支撑板的顶部外壁上贯穿滑动卡接有滑杆,滑杆的底端与卡接板相卡接,滑杆的侧壁上固定安装有圆形板,圆形板的顶部外壁上固定连接有弹簧,弹簧的一端与支撑板固定连接,通过设置的滑杆、卡接板与框架,拉动滑杆带动圆形板压缩弹簧,使滑杆底端脱离卡接板,卡接板从框架上脱离,从而便于将拾取罩取下进行清洗。


