授权公布号:CN213699648U
一种可多向运动的混合机
有效
申请
2020-07-01
申请公布
1970-01-01
授权
2021-07-16
预估到期
2030-07-01
| 申请号 | CN202021252255.4 |
| 申请日 | 2020-07-01 |
| 授权公布号 | CN213699648U |
| 授权公告日 | 2021-07-16 |
| 分类号 | B01F11/00;B01F15/02 |
| 分类 | 一般的物理或化学的方法或装置; |
| 申请人名称 | 浙江新三和动物保健品有限公司 |
| 申请人地址 | 浙江省丽水市莲都区天宁工业区天宁街 |
专利法律状态
2021-07-16
授权
状态信息
授权
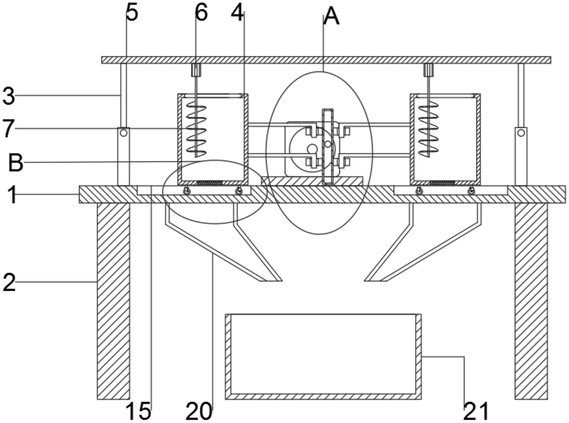
摘要
实用新型提供一种可多向运动的混合机,属于动物养殖技术领域,包括包括:位于支撑台上侧的混合箱、动力电机和搅拌电机,搅拌电机下端固定连接有螺旋搅拌叶片,动力电机表面固定连接有圆盘,圆盘表面固定连接有圆柱凸起,圆柱凸起表面套有限位框,通过上述技术方案,可以在搅拌电机带动螺旋搅拌叶片在混合箱内混合搅拌的同时,动力电机配合限位框、圆盘以及圆盘表面的圆柱凸起带动混合箱做左右往复运动,进而可以带动混合箱内的物料进行多向运动,可以大大提高搅拌混合的效率。


