授权公布号:CN212566570U
一种热风循环烘箱的恒温水循环结构
有效
申请
2020-07-10
申请公布
1970-01-01
授权
2021-02-19
预估到期
2030-07-10
| 申请号 | CN202021348295.9 |
| 申请日 | 2020-07-10 |
| 授权公布号 | CN212566570U |
| 授权公告日 | 2021-02-19 |
| 分类号 | F26B9/06; |
| 分类 | 干燥; |
| 申请人名称 | 浙江新三和动物保健品有限公司 |
| 申请人地址 | 浙江省丽水市莲都区天宁工业区天宁街 |
专利法律状态
2021-02-19
授权
状态信息
授权
摘要
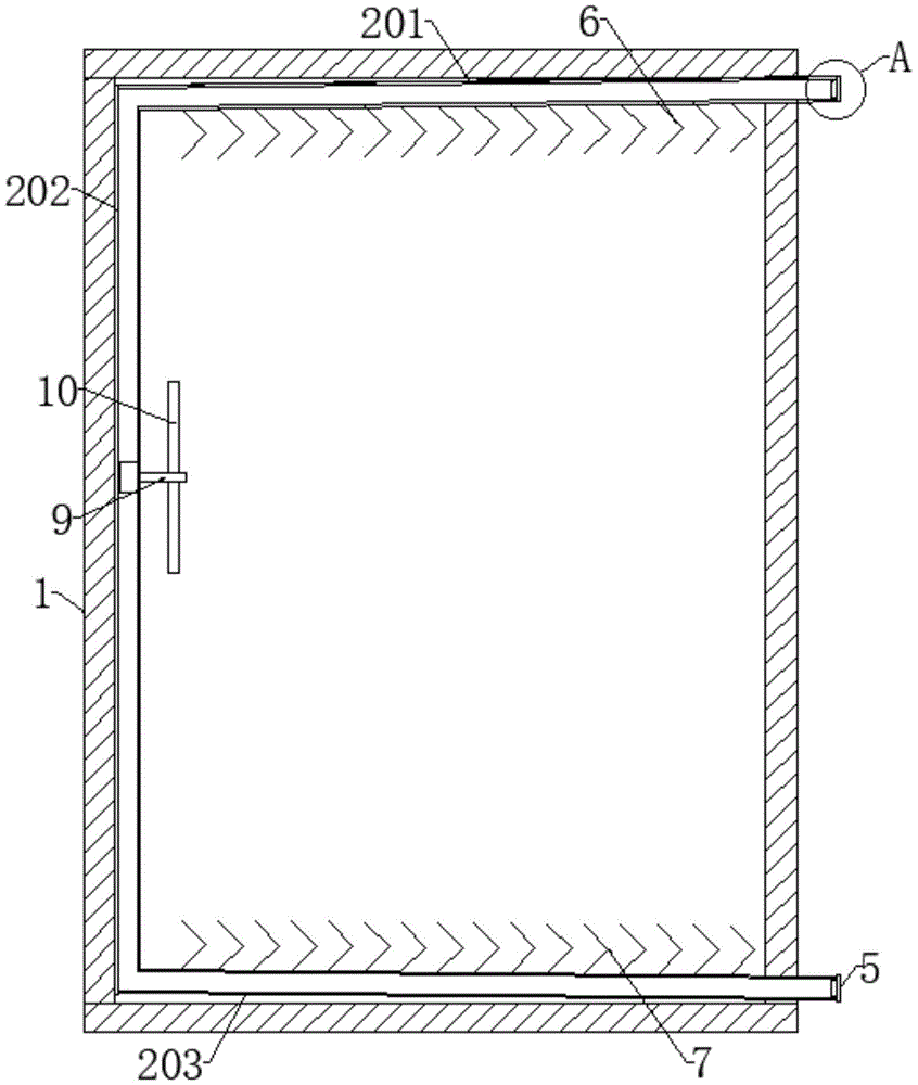
实用新型提供一种热风循环烘箱的恒温水循环结构,包括:安装在箱体的管道,该管道用于接通热水,所述管道包括第一管体、第二管体和第三管体,第二管体不局限于直管,可以是各种形状的管道,如S型或盘旋型,所述第一管体的第一端贯穿所述箱体并延伸至所述箱体的外侧,所述第一管体的第二端与所述第二管体的第一端连通,所述第二管体的第二端与所述第三管体的第一端连通,水的热量通过第一翅片和第二翅片传至箱体的内部,可以增加烘箱的烘干效果,另外,本水循环结构可以有效的利用水的动能,具有节能降耗的效果。


