授权公布号:CN213572746U
一种护墙
有效
申请
2020-09-24
申请公布
1970-01-01
授权
2021-06-29
预估到期
2030-09-24
| 申请号 | CN202022127879.X |
| 申请日 | 2020-09-24 |
| 授权公布号 | CN213572746U |
| 授权公告日 | 2021-06-29 |
| 分类号 | E04F13/074;A47G29/087 |
| 分类 | 建筑物; |
| 申请人名称 | 浙江耐思迪家居有限公司 |
| 申请人地址 | 浙江省温州市经济技术开发区滨海园区白榆路197号 |
专利法律状态
2021-06-29
授权
状态信息
授权
摘要
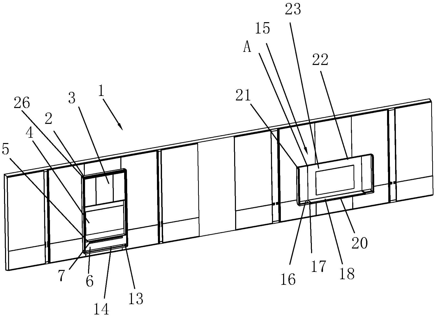
本实用新型涉及一种护墙,包括护墙本体、第一固定框、第一分隔板、第二分隔板、第一定位板、收纳板,所述收纳板设置为凹状,所述收纳板的一侧一体连接有两个相互平行的第一固定板,所述收纳板连接有处于两个第一固定板之间的第二定位板,所述第二定位板设置为F型,所述第二定位板的内部设置有稳固块,所述第二定位板的弯折处设置有条纹,所述第二定位板套接有处于两个第一固定板之间的L状的套接板,所述套接板的弯折处设置有条纹。本实用新型具有成放电器且具有收纳的优点。


